To the top of the document
Cruze
   
GMDE Start Page Load static TOC Load dynamic TOC Help?

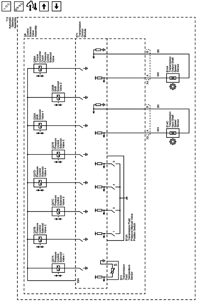
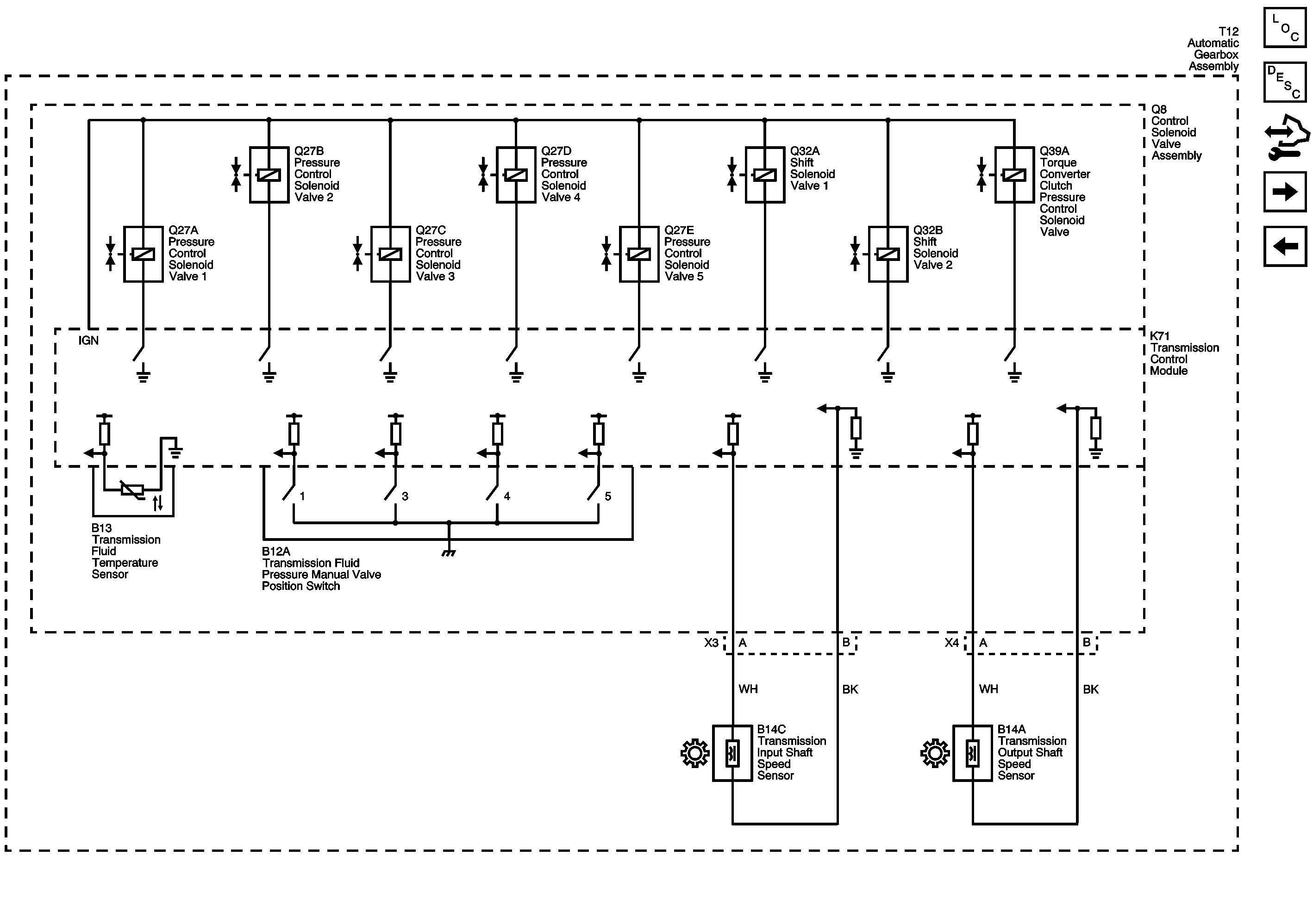
Temperature and Speed Sensors, Manual Valve, Pressure Controls and Shift Controls



            |                         |            
2443827EN.png

Display graphic

Master Electrical Component List

Electronic Component Description

Control Module References

Internal Mode Switch and Manual Shift Switches

Module Power, Ground, Data Communication, and MIL

   


© Copyright Chevrolet. All rights reserved