To the top of the document
Cruze
   
GMDE Start Page Load static TOC Load dynamic TOC Help?

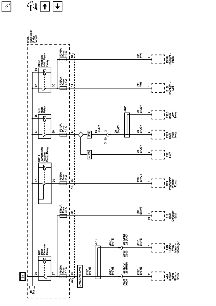
F28UA, F37UA, F38UA, F51UA, F56UA, and F60UA Fuses



            |                         |            
2443733EN.png

Display graphic

Master Electrical Component List

Control Module References

F1DA, F4DA, F5DA, F6DA, and F7DA Fuses

F5UA, F13UA, F53UA, and F65UA Fuses

   


© Copyright Chevrolet. All rights reserved