To the top of the document
Cruze
   
GMDE Start Page Load static TOC Load dynamic TOC Help?

Window Systems Component Views — Notchback


2027568

Window Systems Component Views

Number

Description

Procedure

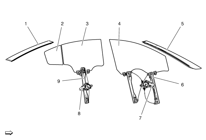
1

Rear Window

Rear Window Replacement

2

Rear Side Door Stationary Window

Rear Side Door Stationary Window Replacement

3

Rear Side Door Window

Rear Side Door Window Replacement

4

Front Side Door Window

Front Side Door Window Replacement

5

Windscreen

Windscreen Replacement

6

Front Side Door Window Regulator

Front Side Door Window Regulator Replacement

7

Front Side Door Window Regulator Motor

Front Side Door Window Regulator Motor Replacement

8

Rear Side Door Window Regulator Motor

Rear Side Door Window Regulator Motor Replacement

9

Rear Side Door Window Regulator

Rear Side Door Window Regulator Replacement

   


© Copyright Chevrolet. All rights reserved