To the top of the document
Cruze
   
GMDE Start Page Load static TOC Load dynamic TOC Help?

Rear Window Replacement

Special Tools

    • BO-46974 Glass removal system
    • BO-641 Suction Holder

For equivalent regional tools, refer to Special Tools .

Removal Procedure

Warning: Refer to Cracked Window Warning in the Preface section.

Warning: Refer to Glass and Sheet Metal Handling Warning in the Preface section.

Note: Position the vehicle on level ground and move the front wheels to the straight-ahead position.

  1. Disconnect battery negative cable. Refer to Battery Negative Cable Disconnection and Connection .
  2. Remove quarterlight garnish moulding. Refer to Quarterlight Garnish Moulding Replacement : 4-Door Notchback 69 .
  3. Disconnect the rear window radio aerial connector.
  4. Disconnect the electrical connectors from the rear window demister bus bars.
  5. Cover the following parts to protect from the broken glass:
  6. • Upper dash pad
    • Seats and carpeting

    2027920
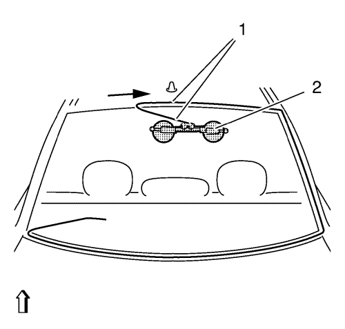
  7. Use BO-46974 system to remove the rear window.
  8. Take the diagonal measurement (1) of the rear window.
  9. Cut cutting wire into four times lengths.
  10. Approximately 5400 mm (212.597 in), the circumference of the corresponding roll of wire is approximately 1000 mm (39.369 in).


    2027957
  11. Heat the awl with a suitable tool.
  12. Stick the awl through the adhesive bed in the area of the lower C-pillar.
  13. Note: Ensure that the rear window is not damaged in the process. Otherwise, stress cracks could form in the rear window. Mask off the area with fabric tape (1).

  14. Pull the wire through.
  15. • Thread both ends of the cutting wire (3) in the bores of the piercing awl (2) and bend them.
    • Use the piercing awl to pull the cutting wire to the centre of the rear window.

    2027847

    Note: The cutting wire (1) should be rolled in beneath the rubber window seal (2) at the rear window.

  16. Lay the wire under the rear window all the way round.
  17. Pull the remaining wire into the interior.


    2027971
  18. Place the winch with two winding heads in the vehicle.
  19.    Note: Ensure that the cutting wire (1) is fitted correctly to the winch deflection roller.

    • Position the winch (2) vertically at the same height as the C-pillar.
    • Attach the cutting wire (1) to the winch (2).
    • Insert transfer ratchet and pre-tension cutting wire (1).
  20. Cut out rear window.
  21. • Cut out the rear window until the cutting wire (1) is level with the winch (2).
    • Arrow shows the path taken by the cutting wire (1).

    2027972
  22. Place the winch with two winding heads in the vehicle.
  23.    Note: Ensure that the cutting wire is fitted correctly to the winch deflection roller.

    • Position the winch (2) in the area of the roof frame.
    • Insert transfer ratchet and pre-tension cutting wire (1).
  24. Cut out rear window.
  25.    Note: Increased cutting effort is required in the area of the rear window radius.

    • Cut out the rear window until the cutting wire is level with the winch.
    • Arrow shows the path taken by the cutting wire.
    • Cut out the rear window until the cutting wire is level with the winch.

    2027974
  26. Place the winch with two winding heads in the vehicle.
  27.    Note: Check that the cutting wire is laid correctly to the winch deflection roller.

    • Position winch in the middle area of rear window (2).
    • Insert transfer ratchet and pre-tension cutting wire (1).
  28. Cut out rear window.
  29. • Cut out the rear window until the cutting wire is level with the winch.
    • Arrow shows the path taken by the cutting wire.

    2027975
  30. Position the winch with one winding head in the vehicle.
  31.    Note: Ensure that the cutting wire is fitted correctly to the winch deflection roller.

    • The winch with 2 winding heads (1) stays in the position.
    • Position winch with one winding head (2) in the area of the lower C-pillar.
    • Thread the second end of the wire (3).
    • Insert transfer ratchet and pre-tension cutting wire.
  32. Cut out rear window.
  33.    Note: Increased cutting effort is required in the area of the rear window radius.

    • Cut out the rear window until the cutting wire is level with the winch.
    • Arrow shows the path taken by the cutting wire.

    2027977
  34. Position the winch with one winding head in the vehicle.
  35.    Note: Check that the cutting wire is laid correctly at the winch deflection roller.

    • Position the winch with one winding head (1) in the upper area of the rear window.
    • Insert transfer ratchet and pre-tension cutting wire (2).
  36. Cut out rear window.
  37.    Note: Increased cutting effort is required in the area of the rear window radius.

    • Cut out the rear window until the cutting wire is level with the winch.
    • Arrow shows the path taken by the cutting wire.

    2027981
  38. Position the winch with one winding head in the vehicle.
  39.    Note: Check that the cutting wire is laid correctly to the winch deflection roller.

    • Position winch with one winding head (1) next to winch with two winding heads so that the cutting wire crosses (2).
    • Insert transfer ratchet and pre-tension cutting wire.
  40. Cut out rear window.
  41. • Cut out the rear window until the cutting wire (2) has cut through the adhesive bed completely.
    • Arrow shows the path taken by the cutting wire.
  42. Remove glass removal system.
  43. Fit BO-641 holder.
  44. Note: Second mechanic required.

  45. Remove windscreen.

  46. 2027901
  47. Cut out the adhesive tape with the knife provided (1) to within 1 mm (0.039 in).
  48. Repair any paint damage.
  49. Using a touch-up pen to match the colour of the vehicle, repair any paint damage.

  50. If the rear window rubber is damaged, replace with a new one.
  51. Cut off the adhesive bead on the glass pane.
  52. Cut out the adhesive tape with the knife provided (1) to within 1 mm (0.039 in).

Installation Procedure

  1. Remove all mounds or loose pieces of urethane adhesive from the pinch-weld area.
  2. Inspect for any of the following problems in order to help prevent future breakage of the window:
  3. • High weld
    • Solder spots
    • Hardened sealer
    • Any other obstruction or irregularity in the pinch-weld flange
  4. After repairing the opening as indicated, perform the following steps:
  5. Remove all traces of broken glass from the outer cowl panel, seats and floor.


    2027903
  6. Apply adhesive bead (1).
  7. Cut into the tip of the cartridge in such a way that a bead of adhesive approx. 13 mm (0.511 in) thick is produced.

  8. Insert rear window.
  9. • Place the rear window at the upper area and lower down.
    • Insert rear window with BO-641 holder.
    • Second mechanic required.
  10. Secure windscreen in position with fabric tape.
  11. Clean any excess urethane adhesive from the body.
  12. Use a soft spray of warm water in order to immediately water test the window.
  13. Inspect the window for leaks.
  14. If any leaks are found, use a plastic paddle in order to apply extra urethane adhesive at the leak point.
  15. Retest the window for leaks.
  16. Maintain the following conditions in order to properly cure the urethane adhesive:
  17. • Partially lower a door window in order to prevent pressure buildups when closing doors before the urethane adhesive cures.
    • Do not drive the vehicle until the urethane adhesive is cured.
    • Do not use compressed air in order to dry the urethane adhesive.
  18. Connect the electrical connectors from the rear window demister bus bars.
  19. Connect the rear window radio aerial connector.
  20. Install quarterlight garnish moulding. Refer to Quarterlight Garnish Moulding Replacement : 4-Door Notchback 69
  21. Connect battery negative cable. Refer to Battery Negative Cable Disconnection and Connection .
   


© Copyright Chevrolet. All rights reserved