To the top of the document
Cruze
   
GMDE Start Page Load static TOC Load dynamic TOC Help?

Front Side Door Window Regulator Motor Replacement


2027512

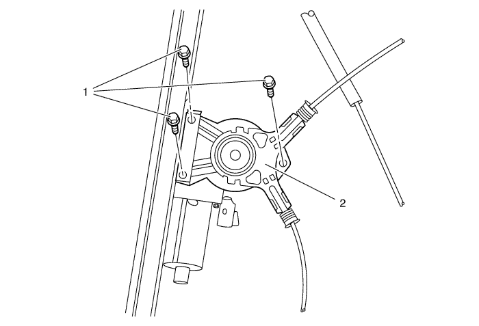
Callout

Component Name

Preliminary Procedure

Remove the front side door window regulator. Refer to Front Side Door Window Regulator Replacement .

1

Front Side Door Window Regulator Motor Screw (Qty: 3)

Caution: Refer to Fastener Caution in the Preface section.

Tighten
9 N·m (80 lb in)

2

Front Side Door Window Regulator Motor Assembly

   


© Copyright Chevrolet. All rights reserved