To the top of the document
Cruze
   
GMDE Start Page Load static TOC Load dynamic TOC Help?

Fuel Tank Replacement

Special Tools

EN-48279 Main Fuel Pump Locking Ring Remover/Installer

For equivalent regional tools, refer to Special Tools .

Removal Procedure

Warning: Refer to Petrol/Petrol Vapours Warning in the Preface section.

  1. Disconnect the battery negative cable. Refer to Battery Negative Cable Disconnection and Connection .
  2. Drain the fuel tank. Refer to Fuel Tank Draining .
  3. Raise and support the vehicle. Refer to Lifting and Jacking the Vehicle .

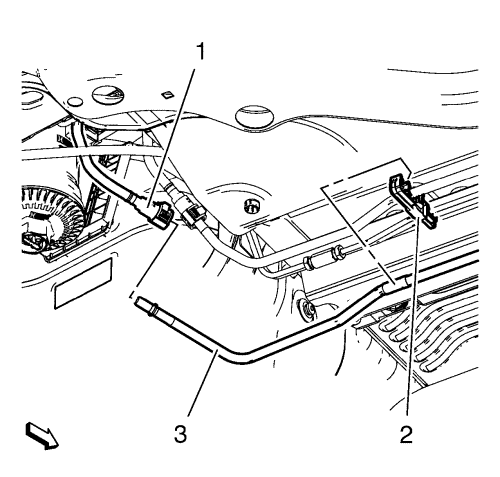
  4. 2028094
  5. Disconnect the fuel return pipe (3) from the fuel return pipe connector (1). Refer to Plastic Collar Quick Connect Fitting Service .

  6. 2028100
  7. Disconnect the fuel feed pipe (3) from the fuel feed pipe connector (1). Refer to Plastic Collar Quick Connect Fitting Service .

  8. 2028107
  9. Disconnect the fuel tank fill EVAP emission pipe quick connect fitting (5) from the fuel tank vent pipe (1). Refer to Plastic Collar Quick Connect Fitting Service .
  10. Loosen the fuel filler pipe clamp (3).
  11. Remove the fuel filler hose (4) from the fuel filler pipe (2).
  12. Place a suitable adjustable jack under the fuel tank.

  13. 2028112
  14. Remove the 2 fuel tank strap bolts (2).
  15. Remove the 2 fuel tank straps (1).

  16. 2028108
  17. Lower the fuel tank slowly down to a height where the fuel pump wiring harness plug (3) is accessible.
  18. Disconnect the fuel pump wiring harness plug (3) from the fuel pump module (4).
  19. Disconnect the 2 fuel filter wiring harness plugs (1) and (2) from the fuel filter (6).
  20. Unclip the wiring harness from the clip (5) and (7).
  21. Lower the fuel tank.

Disassembly Procedure


    2028114
  1. Remove the fuel feed pipe (1) from fuel tank fuel pump module (4) and fuel filter housing (3). Refer to Plastic Collar Quick Connect Fitting Service .
  2. Remove the fuel return pipe (2) from fuel tank fuel pump module (4). Refer to Plastic Collar Quick Connect Fitting Service .

  3. 2028116
  4. Install the EN-48253 remover/installer to the fuel pump module lock ring.
  5. Note: Do NOT use impact tools. Significant force will be required to release the lock ring. The use of a hammer and screwdriver is not recommended. Secure the fuel tank in order to prevent fuel tank rotation.

  6. Using the EN-48253 remover/installer and a long breaker-bar, rotate the lock ring in an anticlockwise direction in order to unlock the lock ring.

  7. 2028124
  8. Remove the fuel pump module lock ring (1).
  9. Remove the fuel pump module (2).
  10. Note: Lift the fuel pump module up slightly.

  11. Remove and discard the fuel pump module seal (3).

  12. 2028120
  13. Remove the fuel filter (2) from the fuel filter bracket (1).
  14. Remove the fuel tank heat shield. Refer to Fuel Tank Heat Shield Replacement : 2.0L Diesel LNP → Petrol → 2.0L Diesel LLW .

Assembly Procedure

  1. Install the fuel tank heat shield. Refer to Fuel Tank Heat Shield Replacement : 2.0L Diesel LNP → Petrol → 2.0L Diesel LLW .

  2. 2028120
  3. Install the fuel filter (2) at the fuel filter bracket (1).

  4. 2028124
  5. Install a NEW fuel pump module seal (3).
  6. Install the fuel pump module (2).
  7. Install the fuel pump module lock ring (1).

  8. 2028116
  9. Install the EN-48253 remover/installer (1) to the fuel pump module lock ring (2).
  10. Note: Do NOT use impact tools. Significant force will be required to release the lock ring. The use of a hammer and screwdriver is not recommended. Secure the fuel tank in order to prevent fuel tank rotation.

  11. Using the EN-48253 remover/installer and a long breaker-bar, rotate the lock ring in a clockwise direction in order to lock the lock ring.

  12. 2028114
  13. Install the fuel return pipe (2) to the fuel tank fuel pump module (4). Refer to Plastic Collar Quick Connect Fitting Service .
  14. Install the fuel feed pipe (1) to the fuel tank fuel pump module (4) and fuel filter housing (3). Refer to Plastic Collar Quick Connect Fitting Service .

Installation Procedure


    2028108
  1. Raise the fuel tank with a suitable adjustable jack to a height where the fuel pump wiring harness plug (3) is accessible.
  2. Clip in the wiring harness to the clip (5) and (7).
  3. Connect the fuel pump wiring harness plug (3) to the fuel pump module (4).
  4. Connect the 2 fuel filter wiring harness plugs (1) and (2) to the fuel filter (6).

  5. 2028112
  6. Install the 2 fuel tank straps (1).
  7. Caution: Refer to Fastener Caution in the Preface section.

  8. Install the 2 fuel tank strap bolts (2) and tighten to 23 N·m (17 lb ft).

  9. 2028107
  10. Install the fuel filler hose (4) to the fuel filler pipe (2).
  11. Install the fuel filler pipe clamp (3).
  12. Connect the fuel tank fill EVAP emission pipe quick connect fitting (5) to the fuel tank vent pipe (1). Refer to Plastic Collar Quick Connect Fitting Service .

  13. 2028100
  14. Connect the fuel feed pipe (3) to the fuel feed pipe connector (1). Refer to Plastic Collar Quick Connect Fitting Service .

  15. 2028094
  16. Connect the fuel return pipe (3) to the fuel return pipe connector (1). Refer to Plastic Collar Quick Connect Fitting Service .
  17. Lower the vehicle.
  18. Connect the battery negative cable. Refer to Battery Negative Cable Disconnection and Connection .
   


© Copyright Chevrolet. All rights reserved