To the top of the document
Cruze
   
GMDE Start Page Load static TOC Load dynamic TOC Help?

Battery Negative Cable Disconnection and Connection

Removal Procedure

  1. Turn on the radio and record all of the customer radio station presets.
  2. Ensure that all lamps and accessories are turned off.
  3. Turn the ignition OFF and remove the ignition key.
  4. Remove the battery cover. Refer to Battery Cover Replacement .
  5. Warning: Refer to Battery Disconnect Warning in the Preface section.


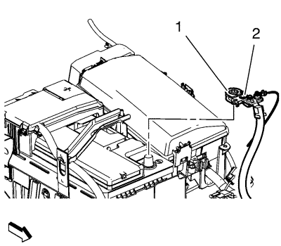
    2027567
  6. Remove the battery negative cable (1) from the battery.

Installation Procedure


    2027567
  1. Install the battery negative cable (1) to the battery.
  2. Caution: Refer to Fastener Caution in the Preface section.

  3. Fasten the battery negative cable nut (2) and tighten the nut to 4.5 N·m (40 lb in).
  4. Install the battery cover. Refer to Battery Cover Replacement .
  5. Insert the ignition key and turn the ignition to the ON position.
  6. Program volatile memory. Refer to Volatile Memory Programming .
  7. Program all of the customer's radio station presets and set the radio clock to the current time.
   


© Copyright Chevrolet. All rights reserved