Rear Axle Replacement - Watt Linkage
Special Tools
EN-45059 Angle Meter
For equivalent regional tools. Refer to Special Tools .
Removal Procedure
- Raise and suitably support the vehicle. Refer to Lifting and Jacking the Vehicle .
- Remove the tyre and wheel assembly. Refer to Tyre and Wheel Removal and Installation .
- Remove both brake hose bolts (1) attaching the hose to the rear brake calliper bracket.
- Remove rear parking brake cable bracket bolts (1) from the rear axle.
- Remove and DISCARD the wheel bearing/hub mounting bolts (1).
Caution: Support the brake calliper with heavy mechanic wire, or equivalent, whenever it is separated from its mount and the hydraulic flexible brake hose is still connected. Failure to support the calliper in this manner will cause the flexible brake hose to bear the weight of the calliper, which may cause damage to the brake hose and in turn may cause a brake fluid leak.
- Without disconnecting the hydraulic brake flexible hose, remove wheel bearing/hub and brake assembly (2) upward and secure the wheel bearing/hub and brake assembly with heavy mechanics wire (1), or equivalent.
- Using a 6 mm (0.2 in) drill bit, drill 2 holes (1) through the right rear axle bracket and into the underbody. Repeat this step for the left rear axle bracket. These holes (1) will be used by guide pins to properly align the rear axle brackets to the underbody (2).
- Support the rear axle with a hydraulic lift table.
- Remove the lower shock absorber bolts. Refer to Shock Absorber Replacement .
- Remove and DISCARD the equaliser beam link bolts (1), if equipped.
- Lower the hydraulic lift table and remove the rear coil springs. Refer to Rear Spring Replacement .
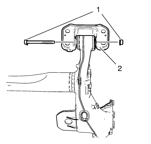
- Remove and DISCARD the 8 rear axle bracket bolts (1) from the right and left rear axle brackets.
- Use the hydraulic lift table to lower the rear axle (1) from the vehicle.
- Remove the rear coil spring lower seat insulators (1) from the axle.
- Remove and DISCARD the rear axle bushing bolts and nuts (1) from the rear axle (2).
Installation Procedure
Note: The axle bushing bolts (1) and nut connection must be tightened with the axle at the correct trim height.
- Loosely install the NEW rear axle bushing bolts and nuts (1) to the rear axle (2).
- Install the rear coil spring lower seat insulators (1) to the axle.
- Raise the axle (1) into position.
- Loosely install the NEW axle bracket bolts (1) to the right and left rear axle brackets.
- Apply anti-corrosion treatment to the guide pin holes in the underbody and rear axle brackets.
- Using 6 mm (0.2 in) drill bits (2) as guide pins, align the right and left rear axle brackets to the underbody (1).
Warning: Refer to Torque-to-Yield Fastener Warning in the Preface section.
Caution: Refer to Fastener Caution in the Preface section.
- Tighten the NEW axle bracket bolts (1) and tighten to 90 N·m (66 lb ft) + 45°, using the EN-45059 angle meter .
- Using the lift table, raise the axle to the proper trim height specification by measuring the vertical distance (a) between the centre of the wheel hub (2) and top of the wheel opening (1).
Trim Height Specification
Dimension (a): 385 mm (15.16 in)
Warning: Refer to Torque-to-Yield Fastener Warning in the Preface section.
- Tighten the NEW axle bush through bolts (1) and nuts and tighten to 70 N·m (52 lb ft) + 120°, using the EN-45059 angle meter .
- Install the rear coil springs. Refer to Rear Spring Replacement .
- Install the lower shock absorber bolts. Refer to Shock Absorber Replacement .
- Install the equaliser beam link bolts (1) and tighten to 160 N·m (118 lb ft), if equipped.
- Remove the hydraulic lift table from the rear axle.
- Install the wheel bearing/hub and brake assembly.
- Install the NEW wheel bearing/hub mounting bolts (1) and tighten to 50 N·m (37 lb ft).
- Install rear parking brake cable bracket bolts (1) at the rear axle and tighten to 10 N·m (89 lb in).
- Install both brake hose bolts (1) attaching the hose to the rear brake calliper bracket and tighten.
- Install the tyre and wheel assembly. Refer to Tyre and Wheel Removal and Installation .
- Remove the support and lower the vehicle.
| © Copyright Chevrolet. All rights reserved |