To the top of the document
Cruze
   
GMDE Start Page Load static TOC Load dynamic TOC Help?

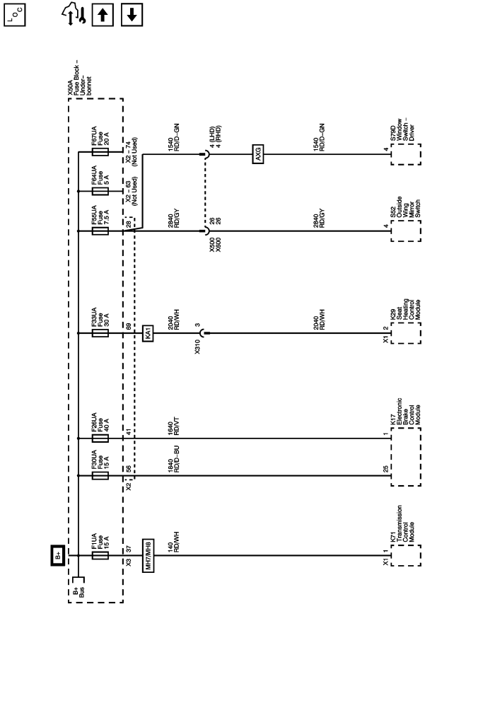
F1UA, F26UA, F30UA, F33UA, F55UA, F64UA, and F67UA Fuses



            |                         |            
2443721EN.png

Display graphic

Master Electrical Component List

Control Module References

F5UB, F6UB, F24UA, F45UA, and F48UA Fuses

F2UA, F21UA, F25UA, F27UA, F31UA, F32UA, F34UA, F35UA, F69UA, and F70UA Fuses

   


© Copyright Chevrolet. All rights reserved