To the top of the document
Cruze
   
GMDE Start Page Load static TOC Load dynamic TOC Help?

Controlled/Monitored Subsystem References



            |                         |            
2443597EN.png

Display graphic

Master Electrical Component List

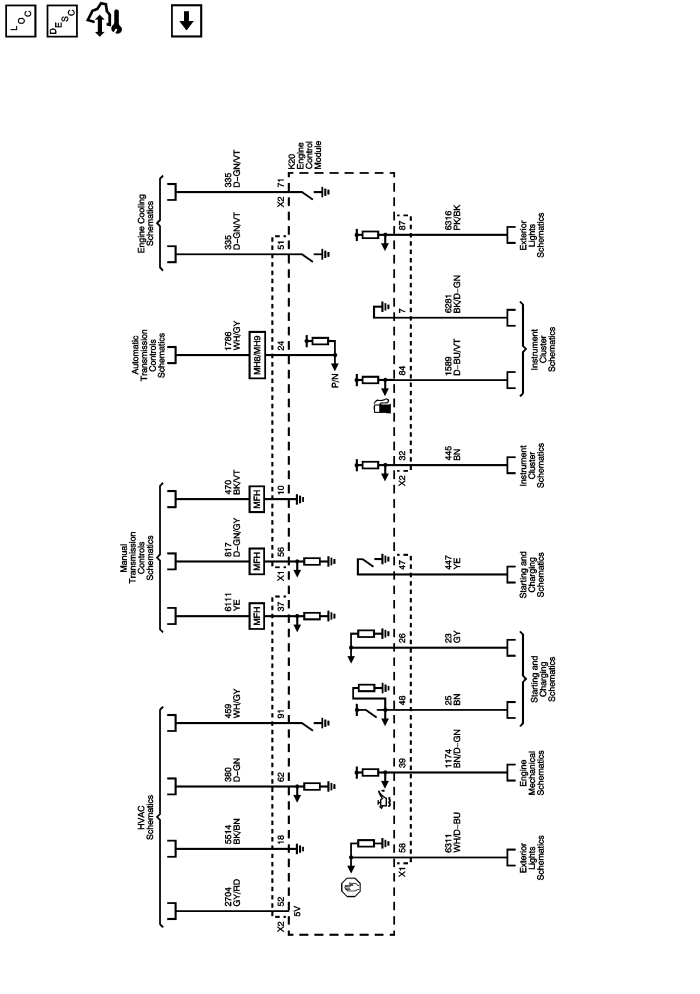
Engine Control Module Description

Control Module References

Fuel Controls - EVAP Controls

B+ Bus (1 of 3)

   


© Copyright Chevrolet. All rights reserved