To the top of the document
Cruze
   
GMDE Start Page Load static TOC Load dynamic TOC Help?

Strut, Strut Component, or Spring Replacement

Special Tools

    • CH-6068 Spring Tensioner Device
    • CH-6066 Holding Device

For equivalent regional tools, refer to Special Tools .

Disassembly Procedure

  1. Remove the strut assembly. Refer to Strut Assembly Removal and Installation .

  2. 2027798
  3. Install the strut to the CH-6066 holder (5).
  4. Tension spring (4), using CH-6068 tensioner to remove the spring tension from the upper strut mount.
  5. Remove the strut nut (2).
  6. Remove the strut mount insulator washer (3).

  7. 2027805
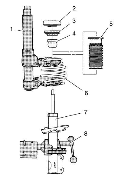
  8. Remove the front spring strut components:
  9. 6.1. Remove the strut mount insulator assembly (2). Inspect for damage and replace as necessary.
    6.2. Remove the strut mount bearing assembly (3). Inspect for damage and replace as necessary.
    6.3. Remove the bumper (4). Inspect for damage and replace as necessary.
    6.4. Remove the insulator (5). Inspect for damage and replace as necessary.
    6.5. Remove the spring (6) with CH-6068 tensioner (1).
    6.6. Remove the spring tension using the CH-6068 tensioner. Inspect for damage and replace as necessary.
    6.7. Remove the strut (7) from CH-6066 holder (8).

    2027809
  10. Remove the lower insulator (1). Inspect for damage and replace as necessary.

Assembly Procedure


    2027809
  1. Install the lower insulator (1).

  2. 2027805
  3. Install the spring strut components:
  4. 2.1. Install the strut (7) to the CH-6066 holder (8).
    2.2. Install the spring (6) to the CH-6068 tensioner (1), compress spring to remove the spring tension.
    2.3. Install the spring (6) to the strut (7).
    2.4. Install the insulator (5) to the strut (7).
    2.5. Install the bumper (4) to the strut (7).
    2.6. Install the strut mount bearing (3) to the strut (7).
    2.7. Install the mount insulator assembly (2) to the strut (7).

    2027798
  5. Install the strut mount insulator washer (3).
  6. Caution: Refer to Fastener Caution in the Preface section.

  7. Install the strut nut (2) to the strut shaft and tighten to 70 N·m (52 lb ft).
  8. Remove the CH-6068 tensioner (1) from the spring (4).
  9. Remove the front strut from CH-6066 holder (5).
  10. Install the strut assembly. Refer to Strut Assembly Removal and Installation .
   


© Copyright Chevrolet. All rights reserved