To the top of the document
Cruze
   
GMDE Start Page Load static TOC Load dynamic TOC Help?

Battery Replacement - Diesel

Special Tools

GE-49379 Battery Remover

Removal Procedure

  1. Disconnect battery negative cable. Refer to Battery Negative Cable Disconnection and Connection .

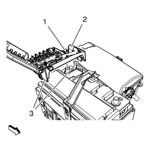
  2. 2027594
  3. Unlock the retaining tabs on the battery fuse box cover, and open the cover (1).
  4. Remove the positive battery cable to starter nut (2).
  5. Remove the positive battery cable to starter (3) from the battery.

  6. 2027592
  7. Loosen the positive battery cable nut (1) on the battery.
  8. Remove the positive battery cable (2)
  9. Unlock the 2 retaining tabs (3) and remove positive battery cable cover.

  10. 2027610
  11. Remove the battery hold down retainer nut (2).
  12. Remove the battery hold down retainer (1) from the battery tray (3).

  13. 2027662
  14. Unclip the battery current sensor (3) from the battery tray.
  15. Disconnect the glow plug controller wiring harness plug (4).
  16. Remove the glow plug controller bracket (2) from the battery tray.

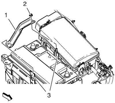
  17. 2027650
  18. Unlock the retaining tab (2) and remove the protector battery tray (1).
  19. Remove the battery with the GE-49379 remover.

Installation Procedure

  1. Install the battery with the GE-49379 remover.

  2. 2027650
  3. Install the protector battery tray (1).

  4. 2027662
  5. Install the glow plug controller bracket (2) at the battery tray.
  6. Connect the glow plug controller wiring harness plug (4).
  7. Clip in the battery current sensor (3) at the battery tray.

  8. 2027610
  9. Install the battery hold down retainer (1) at the battery tray (3).
  10. Caution: Refer to Fastener Caution in the Preface section.

  11. Install the battery hold down retainer nut (2) and tighten to 9 N·m (80 lb in).

  12. 2027592
  13. Install the positive battery cable cover and lock the 2 retaining tabs (3).
  14. Install the positive battery cable (2).
  15. Tighten the positive battery cable nut (1) on the battery to 9 N·m (80 lb in).

  16. 2027594
  17. Install the positive battery cable to starter (3).
  18. Install the positive battery cable to starter nut (2) and tighten to 9 N·m (80 lb in).
  19. Close the battery fuse box cover (1) and lock the retaining tabs on the battery fuse box.
  20. Connect battery negative cable. Refer to Battery Negative Cable Disconnection and Connection .
   


© Copyright Chevrolet. All rights reserved