To the top of the document
Cruze
   
GMDE Start Page Load static TOC Load dynamic TOC Help?

Air Conditioning (A/C) Refrigerant Pressure Sensor Replacement — LLW, LNP

Special Tools

GE-39400-A Halogen Leak Detector

For equivalent regional tools, refer to Special Tools .

Removal Procedure

  1. Remove front bumper fascia air deflector. Refer to Front Bumper Fascia Air Deflector Replacement .

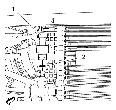
  2. 2028062
  3. Disconnect the electrical connector.
  4. Remove the air conditioning refrigerant pressure sensor (1).
  5. Remove and discard the O-ring (2).

Installation Procedure


    2028062
  1. Install a new O-ring (2). Refer to Air Conditioning O-Ring Seal Replacement .
  2. Caution: Refer to Fastener Caution in the Preface section.

  3. Install the air conditioning refrigerant pressure sensor (1) and tighten to 6 N·m (53 lb in).
  4. Connect the electrical connector.
  5. Leak test the fittings using the GE-39400-A detector.
  6. Install front bumper fascia air deflector. Refer to Front Bumper Fascia Air Deflector Replacement .
   


© Copyright Chevrolet. All rights reserved