To the top of the document
Cruze
   
GMDE Start Page Load static TOC Load dynamic TOC Help?

Air Conditioning O-Ring Seal Replacement

Removal Procedure

  1. Disassemble the A/C refrigerant components. Refer to the appropriate repair procedure.
  2. Remove the O-ring seal from the A/C refrigerant component.
  3. Inspect the O-ring seal for signs of damage to help determine the root cause of the failure.
  4. Inspect the A/C components for damage or burrs. Repair if necessary.
  5. Note: Cap or tape the open A/C refrigerant components immediately to prevent system contamination.

  6. Cap or tape the A/C refrigerant components.
  7. Discard the O-ring seal.

Installation Procedure

  1. Inspect the new O-ring seal for any sign or cracks, cuts, or damage. Replace if necessary.
  2. Remove the cap or tape from the A/C refrigerant components.
  3. Using a lint-free clean, dry cloth, carefully clean the sealing surfaces of the A/C refrigerant components.
  4. Note: DO NOT allow any of the mineral base 525 viscosity refrigerant oil on the new O-ring seal to enter the refrigerant system.

  5. Lightly coat the new O-ring seal with mineral base 525 viscosity refrigerant oil.
  6. Note: DO NOT reuse O-ring seals.

  7. Carefully slide the new O-ring seal onto the A/C refrigerant component.

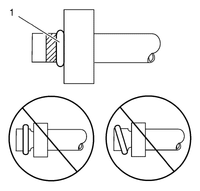
  8. 2026976
  9. The O-ring (1) seal must be fully seated.
  10. Assemble the A/C components.
   


© Copyright Chevrolet. All rights reserved