To the top of the document
Cruze
   
GMDE Start Page Load static TOC Load dynamic TOC Help?

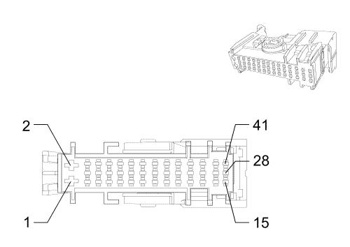
X600 Passenger Door Harness to Body Harness


2180243

2173989

Connector Part Information

  • Harness: Passenger Door
  • OEM Connector: 13600509
  • Service Connector: Pending
  • Description: 41-Way F 4.8 TIMER/DSQ 1.5 Series

Connector Part Information

  • Harness Type: Body
  • OEM Connector: 13600511
  • Service Connector: 13576548
  • Description: 41-Way M DSQ 1.5 2.8 Series (GY)

Terminal Part Information

  • Pins: 1, and 2
  • Terminated Lead: 13575858
  • Release Tool: J-38125-36
  • Diagnostic Test Probe: J-35616-42 (RD)
  • Pins: 3, 9, 10, 14, 15, 25
  • Terminated Lead: 13575539
  • Release Tool: J-38125-560
  • Diagnostic Test Probe: J-35616-14 (GN)
  • Pins:All Others
  • Terminated Lead: 13575538
  • Release Tool: J-38125-560
  • Diagnostic Test Probe: J-35616-14 (GN)

Terminal Part Information

  • Pins: 1 and 2
  • Terminated Lead: Pending
  • Release Tool: Pending
  • Diagnostic Test Probe: Pending
  • Pins: 14 and 15
  • Terminated Lead: Pending
  • Release Tool: J-38125-560
  • Diagnostic Test Probe: J-35616-3 (GY)
  • Pins:All others
  • Terminated Lead: 13327096
  • Release Tool: J-38125-560
  • Diagnostic Test Probe: J-35616-14 (GN)

X600 Passenger Door Harness to Body Harness

Pin

Wire

Circuit

Function

Pin

Wire

Circuit

Function

1

2.5 RD/D-GN

40

Battery Positive Voltage

1

2.5 RD/D-GN

40

Battery Positive Voltage

4 RD/D-GN

40

Battery Positive Voltage

4 RD/D-GN

40

Battery Positive Voltage

2

2.5 BK

50

Ground

2

2.5 BK

50

Ground

3

1 BK

50

Ground

3

1 BK

50

Ground

4

--

--

Not Used

4

--

--

Not Used

5

0.75 GY

294

Door Lock Actuator Unlock Control

5

0.75 GY

294

Door Lock Actuator Unlock Control

6-7

--

--

Not Used

6-7

--

--

Not Used

8

0.5 BK

50

Ground

8

0.5 BK

50

Ground

9

0.75 GY

295

Door Lock Actuator Lock Control

9

0.75 GY

295

Door Lock Actuator Lock Control

10

0.75 BN

5910

Door Double Lock Actuator Lock Control (AF8)

10

0.75 BN

5910

Door Double Lock Actuator Lock Control (AF8)

11

0.5 YE/VT

3397

Co-Driver Mirror Motor Up (+) Down (-) Control

11

0.5 YE/VT

3397

Co-Driver Mirror Motor Up (+) Down (-) Control

12

--

--

Not Used

12

--

--

Not Used

13

0.5 GY/BK

3396

Co-Driver Mirror Motor Right (+) Left (-) Control

13

0.5 GY/BK

3396

Co-Driver Mirror Motor Right (+) Left (-) Control

14

0.5 WH

3398

Co-Driver Mirror Motor Common Control

14

0.5 WH

3398

Co-Driver Mirror Motor Common Control

15

0.5 D-GN/YE

6134

Linear Interconnect Network Bus 3

15

0.5 D-GN/YE

6134

Linear Interconnect Network Bus 3

16

0.75 GY/D-BU

3576

Co-Driver Door Exterior Switch Lock Signal

16

0.75 GY/D-BU

3576

Co-Driver Door Exterior Switch Lock Signal

17

0.75 YE/BK

117

Right Front Speaker Signal (-) (1) (LHD with UQG)

17

0.75 YE/BK

117

Right Front Speaker Signal (-) (1) (LHD with UQG)

0.75 BN/D-BU

118

Right Front Speaker Signal (-) (1) (RHD with UQG)

0.75 BN/D-BU

118

Right Front Speaker Signal (-) (1) (RHD with UQG)

18

0.75 YE

200

Right Front Speaker (+) (1) (LHD with UQG)

18

0.75 YE

200

Right Front Speaker (+) (1) (LHD with UQG)

0.75 D-BU

201

Right Front Speaker (+) (1) (RHD with UQG)

0.75 D-BU

201

Right Front Speaker (+) (1) (RHD with UQG)

19-20

--

--

Not Used

19

--

--

Not Used

21

0.5 WH/BN

3410

Mirror Motor Fold In Control

21

0.5 WH/BN

3410

Mirror Motor Fold In Control

22

0.5 VT/YE

3409

Mirror Motor Fold Out Control

22

0.5 VT/YE

3409

Mirror Motor Fold Out Control

23

0.5 BN/YE

2267

Mirror Heating Element Control

23

0.5 BN/YE

2267

Mirror Heating Element Control

24-26

--

--

Not Used

24-26

--

--

Not Used

27

0.5 GY

746

Right Front Door Ajar Switch Signal (-AED)

27

0.5 GY

746

Right Front Door Ajar Switch Signal

28-30

--

--

Not Used

28-30

--

--

Not Used

31

0.5 VT/WH

3571

Co-Driver Door Handle Switch Signal

31

0.5 VT/WH

3571

Co-Driver Door Handle Switch Signal

32

0.75 GY/BK

3579

Co-Driver Door Unlatch Motor Unlatch Return (ATH)

32

0.75 GY/BK

3579

Co-Driver Door Unlatch Motor Unlatch Return (ATH)

33

0.5 D-GN/BK

3563

Passive Entry Co-Driver Door Aerial Signal Lo

33

0.5 D-GN/BK

3563

Passive Entry Co-Driver Door Aerial Signal Lo

34

0.5 D-GN/YE

3562

Passive Entry Co-Driver Door Aerial Signal Hi

34

0.5 D-GN/YE

3562

Passive Entry Co-Driver Door Aerial Signal Hi

35-39

--

--

Not Used

35-39

--

--

Not Used

40

0.5 GY/D-GN

3575

Co-Driver Door Open Switch Signal (ATH)

40

0.5 GY/D-GN

3575

Co-Driver Door Open Switch Signal (ATH)

41

0.75 YE/D-GN

3583

Co-Driver Door Unlatch Motor Unlatch Control (ATH)

41

0.75 YE/D-GN

3583

Co-Driver Door Unlatch Motor Unlatch Control (ATH)

   


© Copyright Chevrolet. All rights reserved