To the top of the document
Cruze
   
GMDE Start Page Load static TOC Load dynamic TOC Help?

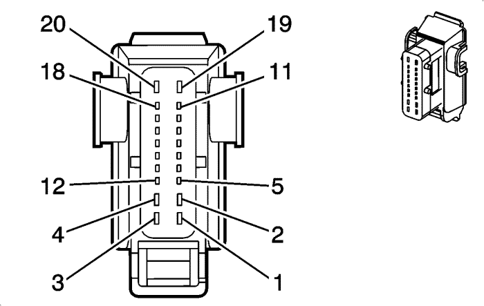
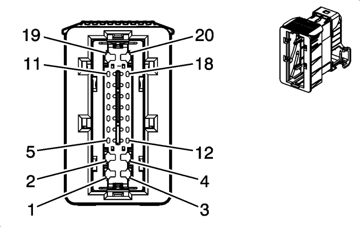
X310 Body Harness and Driver Seat Harness


2220410

2480564

Connector Part Information

  • Harness: Body
  • OEM Connector: 90287300
  • Service Connector: Pending
  • Description: 20-Way F (WH/BK)

Connector Part Information

  • Harness: Driver Seat
  • OEM Connector: 90287400
  • Service Connector: Pending
  • Description: 20-Way M

Terminal Part Information

  • Pins: 1-4, 19, and 20
  • Terminated Lead: Pending
  • Release Tool: J-38125-12A
  • Diagnostic Test Probe: J-35616-35 (VT)
  • Pins: All Others
  • Terminated Lead: Pending
  • Release Tool: Pending
  • Diagnostic Test Probe: Pending

Terminal Part Information

  • Terminated Lead: Pending
  • Release Tool: Pending
  • Diagnostic Test Probe: Pending

X310 Body Harness and Driver Seat Harness

Pin

Wire

Circuit

Function

Pin

Wire

Circuit

Function

1

1.5 RD/BN

702

Battery Positive Voltage

1

1.5 RD/BN

702

Battery Positive Voltage

2

1 BN/D-BU

2479

Passenger Heated Seat Element Control (KA1)

2

1 BN/D-BU

2479

Passenger Heated Seat Element Control (KA1)

3

2.5 RD/WH

40

Battery Positive Voltage

3

2.5 RD/WH

40

Battery Positive Voltage

4

1 BK/D-BU

2433

Passenger Heated Back Element Return (KA1)

4

1 BK/D-BU

2433

Passenger Heated Back Element Return (KA1)

5

0.5 BK/OG

1363

Driver Seat Belt Switch Low Reference

5

0.5 BK/OG

1363

Driver Seat Belt Switch Low Reference

6

0.5 BK/GY

2435

Passenger Heated Seat NTC Low Reference (KA1)

6

0.5 BK/GY

2435

Passenger Heated Seat NTC Low Reference (KA1)

7

0.5 WH/GY

2434

Passenger Heated Seat NTC Signal (KA1)

7

0.5 WH/GY

2434

Passenger Heated Seat NTC Signal (KA1)

8

0.5 YE/OG

2138

Left Front Side Impact Module Low Control

8

0.5 YE/OG

2138

Left Front Side Impact Module Low Control

9

0.5 OG/D-BU

2137

Left Front Side Impact Module High Control

9

0.5 OG/D-BU

2137

Left Front Side Impact Module High Control

10-11

--

--

Not Used

10-11

--

--

Not Used

12

0.5 OG/BN

238

Driver Seat Belt Switch Signal

12

0.5 OG/BN

238

Driver Seat Belt Switch Signal

13-14

--

--

Not Used

13-14

--

--

Not Used

15

0.5 WH/BK

7018

Cushion NTC Signal (KA1)

15

0.5 WH/BK

7018

Cushion NTC Signal (KA1)

16-17

--

--

Not Used

16-17

--

--

Not Used

18

0.5 D-GN

5060

Low Speed GMLAN Serial Data

18

0.5 D-GN

5060

Low Speed GMLAN Serial Data

19

1.5 BK

50

Ground

19

1.5 BK

50

Ground

20

2.5 BK

50

Ground

20

2.5 BK

50

Ground

   


© Copyright Chevrolet. All rights reserved