To the top of the document
Cruze
   
GMDE Start Page Load static TOC Load dynamic TOC Help?

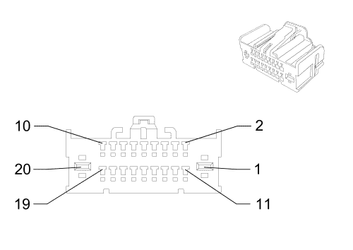
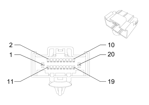
X210 Headliner Harness to Body Harness


2220412

2220411

Connector Part Information

  • Harness: Headliner
  • OEM Connector: 13652302
  • Service Connector: Pending
  • Description: 20-Way F

Connector Part Information

  • Harness: Body
  • OEM Connector: 90288200
  • Service Connector: Pending
  • Description: 20-Way M (GY)

Terminal Part Information

  • Pins: 1 and 20
  • Terminated Lead: Pending
  • Release Tool: Pending
  • Diagnostic Test Probe: Pending
  • Pins: All Others
  • Terminated Lead: 13575818
  • Release Tool: J-38125-553
  • Diagnostic Test Probe: J-35616-3 (GY)

Terminal Part Information

  • Pins: 1 and 20
  • Terminated Lead: 13575545
  • Release Tool: J-38125-213
  • Diagnostic Test Probe: J-35616-16 (L-GN)
  • Pins: All Others
  • Terminated Lead: 13575818
  • Release Tool: J-38125-553
  • Diagnostic Test Probe: J-35616-3 (GY)

X210 Headliner Harness to Body Harness

Pin

Wire

Circuit

Function

Pin

Wire

Circuit

Function

1

1 BK

50

Ground

1

1 BK

50

Ground

2

0.5 GY

3273

Remote Function Actuator Return

2

0.5 GY

3273

Remote Function Actuator Return

3

0.5 GY/WH

3272

Remote Function Actuator Supply Voltage

3

0.5 GY/WH

3272

Remote Function Actuator Supply Voltage

4

0.5 D-BU/WH

3275

Remote Function Actuator Receive Signal

4

0.5 D-BU/WH

3275

Remote Function Actuator Receive Signal

5

0.5 YE/D-GN

3274

Remote Function Actuator Transmit Signal

5

0.5 YE/D-GN

3274

Remote Function Actuator Transmit Signal

6

1 WH/BN

6815

Inadvertent Power Control

6

1 WH/BN

6815

Inadvertent Power Control

7

0.5 GY

157

Interior Lamp Control

7

0.5 GY

157

Interior Lamp Control

8

0.5 GY/D-GN

328

Interior Lamp Defeat Switch Signal

8

0.5 GY/D-GN

328

Interior Lamp Defeat Switch Signal

9

0.35 GY/D-BU

7564

Humidity Sensor Signal (CJ2)

9

0.35 GY/D-BU

7564

Humidity Sensor Signal (CJ2)

10

0.75 BN/D-BU

118

Left Front Speaker Signal (-) (1) (UW6 or UQG)

10

0.75 BN/D-BU

118

Left Front Speaker Signal (-) (1) (UW6 or UQG)

11

0.75 D-BU

201

Left Front Speaker (+) (1) (UW6 or UQG)

11

0.75 D-BU

201

Left Front Speaker (+) (1) (UW6 or UQG)

12

0.75 YE

200

Right Front Speaker (+) (1) (UW6 or UQG)

12

0.75 YE

200

Right Front Speaker (+) (1) (UW6 or UQG)

13

0.75 YE/BK

117

Right Front Speaker Signal (-) (1) (UW6 or UQG)

13

0.75 YE/BK

117

Right Front Speaker Signal (-) (1) (UW6 or UQG)

14

0.5 WH/BN

6815

Inadvertent Power Control (DH6)

14

0.5 WH/BN

6815

Inadvertent Power Control (DH6)

15

0.5 WH/BN

6815

Inadvertent Power Control (DH6)

15

0.5 WH/BN

6815

Inadvertent Power Control (DH6)

16

0.35 BK/D-BU

50

Ground (C68)

16

0.35 BK/D-BU

50

Ground (C68)

0.35 BK/D-BU

50

Ground (CJ2)

0.35 BK/D-BU

50

Ground (CJ2)

17

0.35 GY/D-GN

7565

Windscreen Temp Sensor Signal (CJ2)

17

0.35 GY/D-GN

7565

Windscreen Temp Sensor Signal (CJ2)

18

0.35 YE/D-BU

3197

Humidity Temperature Sensor Signal (CJ2)

18

0.35 YE/D-BU

3197

Humidity Temperature Sensor Signal (CJ2)

19

0.35 YE/RD

597

5V Reference (CJ2)

19

0.35 YE/RD

597

5V Reference (CJ2)

20

0.5 D-GN/BN

6998

Inadvertent Load 1 Supply Voltage

20

0.5 D-GN/BN

6998

Inadvertent Load 1 Supply Voltage

   


© Copyright Chevrolet. All rights reserved