To the top of the document
Cruze
   
GMDE Start Page Load static TOC Load dynamic TOC Help?

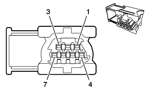
X105 Engine Harness to Fuel Injectors Harness (LDE, LXV or 2H0)


2231639

2231641

Connector Part Information

  • Harness: Engine
  • OEM Connector: 1928404771
  • Service Connector: Pending
  • Description: 7-Way F

Connector Part Information

  • Harness: Fuel Injector
  • OEM Connector: 1928404790
  • Service Connector: Service by Harness - See Part Catalog
  • Description: 7-Way M 1.6 Series, Sealed (BK)

Terminal Part Information

  • Terminated Lead: Pending
  • Release Tool: J-38125-560
  • Diagnostic Test Probe: J-35616-14 (GN)

Terminal Part Information

  • Terminated Lead: Pending
  • Release Tool: Pending
  • Diagnostic Test Probe: Pending

X105 Engine Harness to Fuel Injectors Harness (LDE, LXV or 2H0)

Pin

Wire

Circuit

Function

Pin

Wire

Circuit

Function

1

0.5 BN/VT

1744

Fuel Injector Control (1)

1

0.5 BN/VT

1744

Fuel Injector Control (1)

2

0.5 YE/WH

1745

Fuel Injector Control (2)

2

0.5 YE/WH

1745

Fuel Injector Control (2)

3

0.5 BN/VT

1746

Fuel Injector Control (3)

3

0.5 BN/VT

1746

Fuel Injector Control (3)

4

0.5 BN/YE

844

Fuel Injector Control (4)

4

0.5 BN/YE

844

Fuel Injector Control (4)

5

0.5 VT/D-BU

5290

Powertrain Main Relay Fused Supply (1)

5

0.5 VT/D-BU

5290

Powertrain Main Relay Fused Supply (1)

6-7

--

--

Not Used

6-7

--

--

Not Used

   


© Copyright Chevrolet. All rights reserved