To the top of the document
Cruze
   
GMDE Start Page Load static TOC Load dynamic TOC Help?

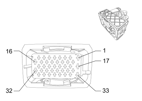
X100 Body Harness to Forward Lamp Harness


2220548

2220545

Connector Part Information

  • Harness Type: Body
  • OEM Connector: 13603185
  • Service Connector: 13576549
  • Description: 40-Way F 1.5/2.8 Series, Sealed (BK)

Connector Part Information

  • Harness Type: Forward Lamp
  • OEM Connector: 13603205
  • Service Connector: 13576552
  • Description: 40-Way M 1.5/2.8 Series, Sealed (BK)

Terminal Part Information

  • Pins: 1 and 17
  • Terminated Lead: 13575393
  • Release Tool: J-35616-35 (VT)
  • Pins: All others
  • Terminated Lead: 13578874
  • Release Tool: J-38125-560
  • Diagnostic Test Probe: J-35616-14 (GN)

Terminal Part Information

  • Pin:2
  • Terminated Lead: 13575356
  • Release Tool: J-388125-560
  • Test Probe: J-35616-3 (GY)
  • Pins:1 and 17
  • Terminated Lead: 13327146
  • J-35616-5 (PU)
  • Pins: All others
  • Terminated Lead: SEALED: 13575387 UNSEALED: 13327171
  • J-38125-560
  • Diagnostic Test Probe: J-35616-3 (GY)

X100 Body Harness to Forward Lamp Harness

Pin

Wire

Circuit

Function

Pin

Wire

Circuit

Function

1

1 YE

712

Left Headlamp Dipped Beam Control

1

1 YE

712

Left Headlamp Dipped Beam Control

2-16

--

--

Not Used

2-16

--

--

Not Used

17

1 YE

312

Right Headlamp Dipped Beam Control

17

1 YE

312

Right Headlamp Dipped Beam Control

18

0.5 D-BU/WH

1314

Left Front Indicator Lamp Control

18

0.5 D-BU/WH

1314

Left Front Indicator Lamp Control

19

0.5 D-GN/VT

1315

Right Front Indicator Lamp Control

19

0.5 D-GN/VT

1315

Right Front Indicator Lamp Control

20

0.5 VT/WH

5203

Air Quality Sensor Signal

20

0.5 VT/WH

5203

Air Quality Sensor Signal

21

0.5 D-BU/GY

636

Outside Ambient Air Temperature Sensor Signal

21

0.5 D-BU/GY

636

Outside Ambient Air Temperature Sensor Signal

22

0.5 BK/D-BU

61

Outside Ambient Temperature Sensor Low Reference

22

0.5 BK/D-BU

61

Outside Ambient Temperature Sensor Low Reference

23

0.5 D-GN/D-BU

6133

Linear Interconnect Network Bus 2

23

0.5 D-GN/D-BU

6133

Linear Interconnect Network Bus 2

24

0.5 RD/WH

40

Battery Positive Voltage

24

0.5 RD/WH

40

Battery Positive Voltage

25

0.5BK/OG

5600

Right Front Discriminating Sensor Low Reference

25

0.5BK/OG

5600

Right Front Discriminating Sensor Low Reference

26

0.5 OG/D-GN

1409

Right Front Discriminating Sensor Signal

26

0.5 OG/D-GN

1409

Right Front Discriminating Sensor Signal

27

0.5 BN/D-GN

109

Bonnet Ajar Switch Signal

27

0.5 BN/D-GN

109

Bonnet Ajar Switch Signal

28

0.5 BN/D-GN

59

A/C Compressor Clutch Control (LXT, LXV or 2H0)

28

0.5 BN/D-GN

59

A/C Compressor Clutch Control (LXT, LXV or 2H0)

29

0.5 BN/YE

189

Headlamp Leveling Motor Control

29

0.5 BN/YE

189

Headlamp Leveling Motor Control

30

0.5 VT/GY

709

Left Park Lamp Control

30

0.5 VT/GY

709

Left Park Lamp Control

31

0.5 GY/BN

309

Right Park Lamp Control

31

0.5 GY/BN

309

Right Park Lamp Control

32-33

--

--

Not Used

32-33

--

--

Not Used

34

0.5 BN/D-GN

196

Windscreen Wiper Motor Park Switch Signal

34

0.5 BN/D-GN

196

Windscreen Wiper Motor Park Switch Signal

35

0.5 GY/WH

7064

Wheel Speed Sensor Control Left Front

35

0.5 GY/WH

7064

Wheel Speed Sensor Control Left Front

36

0.5 GY

830

Wheel Speed Sensor Signal Left Front

36

0.5 GY

830

Wheel Speed Sensor Signal Left Front

37

0.5 GY/BN

7065

Wheel Speed Sensor Control Right Front

37

0.5 GY/BN

7065

Wheel Speed Sensor Control Right Front

38

0.5 YE

872

Wheel Speed Sensor Signal Right Front

38

0.5 YE

872

Wheel Speed Sensor Signal Right Front

39

0.5 OG/YE

354

Left Front Discriminating Sensor Signal

39

0.5 OG/YE

354

Left Front Discriminating Sensor Signal

40

0.5 BK/OG

5045

Left Front Discriminating Sensor Low Reference

40

0.5 BK/OG

5045

Left Front Discriminating Sensor Low Reference

   


© Copyright Chevrolet. All rights reserved