To the top of the document
Cruze
   
GMDE Start Page Load static TOC Load dynamic TOC Help?

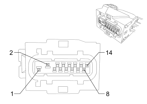
Q8 Control Solenoid Valve Assembly X1 (LNP with MH7)


2033504

Connector Part Information

  • Harness Type: Engine
  • OEM Connector: 13522378
  • Service Connector: 13503939
  • Description: 14-Way F GT 150 280 Series, Sealed (L-GY)

Terminal Part Information

  • Pin: 1
  • Terminated Lead: SEALED: 13575405 UNSEALED: 13578906
  • Release Tool: J-38125-553
  • Diagnostic Test Probe: J-35616-4A (PU)
  • Pins 3-14
  • Terminated Lead: 13576360
  • Release Tool: J-38125-553
  • Diagnostic Test Probe: J-35616-2A (GY)

Q8 Control Solenoid Valve Assembly X1 (LNP with MH7)

Pin

Wire

Circuit

Function

1

0.75 RD/WH

140

Battery Positive Voltage

2

1.0 BK

250

Ground

3

0.5 WH/GY

1786

Transmission Park/Neutral Signal (1)

4

0.5 BN

2501

High Speed GMLAN Serial Data (-) (1)

5

0.5 D-BU

2500

High Speed GMLAN Serial Data (+) (1)

6

0.5 D-BU

2500

High Speed GMLAN Serial Data (+) (1)

7

0.5 D-BU

2500

High Speed GMLAN Serial Data (+) (1)

8

0.5 WH

2501

High Speed GMLAN Serial Data (-) (1)

9-11

--

--

Not Used

12

0.75 VT/BK

3

Run/Crank Ignition 1 Voltage

13

0.5 VT/YE

5985

Accessory Wakeup Serial Data

14

0.5 WH

2501

High Speed GMLAN Serial Data (-) (1)

   


© Copyright Chevrolet. All rights reserved