To the top of the document
Cruze
   
GMDE Start Page Load static TOC Load dynamic TOC Help?

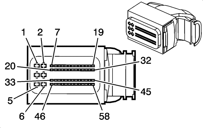
K20 Engine Control Module X2 (LNP)


2486429

Connector Part Information

  • Harness: Engine
  • OEM: 13717149
  • Service: Pending
  • Description: 58 Way F (GY)

Terminal Part Information

  • Pins: 7-58
  • Terminated Lead: 13575753
  • Release Tool: J-38125-553
  • Diagnostic Test Probe: J-35616-4A (PU)
  • Pins: 1-6
  • Terminated Lead: Pending
  • Release Tool: J-38125-13A
  • Diagnostic Test Probe: J-35616-4A (PU)

K20 Engine Control Module X2 (LNP)

Pin

Wire

Circuit

Function

1

2.5 VT/D-BU

5290

Powertrain Main Relay Fused Supply (1)

2

2.5 BK

250

Ground

3

2.5 VT/D-BU

5290

Powertrain Main Relay Fused Supply (1)

4

2.5 BK

250

Ground

5

2.5 VT/D-BU

5290

Powertrain Main Relay Fused Supply (1)

6

2.5 BK

250

Ground

7

0.5 D-GN/GY

465

Fuel Pump Primary Relay Control

8

0.5 D-GN

380

A/C Refrigerant Pressure Sensor Signal

9

0.5 D-BU/VT

1589

Primary Fuel Level Sensor Signal

10

0.5 GY/BK

3096

(MYJ)

11

0.5 YE

447

Starter Relay Coil Control

12

0.5 VT/YE

5985

Accessory Wakeup Serial Data

13

0.5 D-GN/WH

1162

Accelerator Pedal Position Signal (2)

14

0.5 BK/VT

1272

Accelerator Pedal Position Low Reference (2)

15

--

--

Not Used

16

0.5 GY/BK

6316

Engine Reverse Gear Switch Signal (MYJ)

17

1.0 BN/GY

506

Glow Plug Signal

18

--

--

Not Used

19

0.75 VT/BK

3

Run/Crank Ignition 1 Voltage

20

0.5 BK/BN

5514

A/C Refrigerant Pressure Sensor Low Reference

21

0.5 WH/BK

3097

(MYJ)

22

0.5 BN/RD

2700

A/C Pressure Sensor 5 Volt Reference

23

0.5 GY/RD

6109

Clutch Apply Sensor Voltage Reference (MYJ)

24

0.5 WH/RD

1164

Accelerator Pedal Position 5 Volt Reference (1)

25

0.5 YE

1161

Accelerator Pedal Position Signal (1)

26

0.5 BK/D-BU

1271

Accelerator Pedal Position Low Reference (1)

27

0.5 D-GN/GY

817

Vehicle Speed Signal (MYJ)

28

0.5 BN/D-GN

1174

Oil Level Switch Signal

29

0.5 BN/RD

1274

Accelerator Pedal Position 5 Volt Reference (2)

30-32

--

--

Not Used

33

0.5 BK/D-GN

6281

Fuel Level Sensor Low Reference

34

0.5 BK/GY

6110

Clutch Apply Sensor Low Reference (MYJ)

35

--

--

Not Used

36

0.5 WH

335

Low Speed Cooling Fan Relay Control

37-40

--

--

Not Used

41

0.5 WH/GY

459

A/C Compressor Clutch Relay Control

42

0.5 D-GN/VT

335

Low Speed Cooling Fan Relay Control

43-44

--

--

Not Used

45

0.5 BN/WH

5069

Engine Main Relay Coil Control

46

1.0 BN/GY

505

Glow Plug Control

47

0.5 WH

2501

High Speed GMLAN Serial Data (-) (1)

48

0.5 D-BU

2500

High Speed GMLAN Serial Data (+) (1)

49

--

--

Not Used

50

0.5 D-BU/D-GN

7071

Heater Fuel Control

51-52

--

--

Not Used

53

0.5 D-BU

2500

High Speed GMLAN Serial Data (+) (1)

54

0.5 WH

2501

High Speed GMLAN Serial Data (-) (1)

55

0.5 BN/WH

419

Check Engine Indicator Control

56-58

--

--

Not Used

   


© Copyright Chevrolet. All rights reserved