Cruze |
||||||||
|
|
|
|||||||
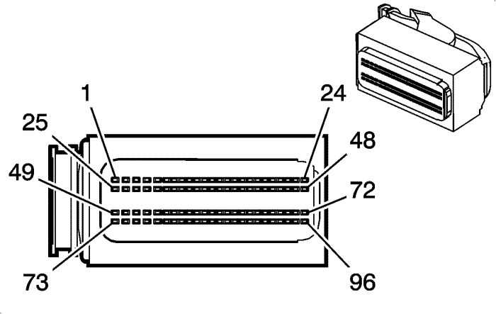
Connector Part Information
|
Terminal Part Information
|
Pin | Wire | Circuit | Function |
|---|---|---|---|
1-2 | -- | -- | Not Used |
3 | 1.0 D-BU/GY | 5425 | Fuel Injector Supply Voltage (4) |
4 | 0.5 BN/VT | 472 | Intake Air Temperature Sensor Signal |
5 | 0.5 GY/D-GN | 5378 | Exhaust Gas Temperature Sensor (3) |
6 | 0.5 D-BU/D-GN | 5377 | Exhaust Gas Temperature Sensor (2) |
7 | 0.5 BK/BN | 5277 | Exhaust Gas Temperature Sensor (1) |
8 | 0.5 D-BU | 6053 | Exhaust Pressure Sensor Signal (1) |
9 | 0.5 D-BU | 410 | Engine Coolant Temperature Sensor Signal |
10 | 0.5 YE/D-BU | 1578 | Fuel Temperature Signal |
11 | 0.5 VT/YE | 5947 | Variable Nozzle Turbo Position Sensor Signal |
12 | 0.5 GY | 5641 | Turbo Boost Pressure Sensor Temperature Signal |
13 | -- | -- | Not Used |
14 | 0.5 GY/VT | 7314 | Variable Swirl Valve Position Sensor Signal |
15 | 0.5 D-GN/D-BU | 411 | Throttle Position Sensor Signal (3) |
16 | 0.5 WH | 1456 | Exhaust Gas Recirculation Valve Position Signal |
17 | 0.5 YE | 6111 | Clutch Apply Sensor Signal (MYJ) |
18 | -- | -- | Not Used |
19 | 0.5 D-BU/WH | 2918 | Fuel Rail Pressure Sensor Signal |
20-21 | -- | -- | Not Used |
22 | 0.5 BK/D-GN | 3657 | Low Reference |
23 | 0.5 BK/D-BU | 6783 | Exhaust Gas Temperature Sensor 2 Low Reference |
24 | 0.5 BK/BN | 6782 | Exhaust Gas Temperature Sensor 1 Low Reference |
25 | 1.0 BN/YE | 844 | Fuel Injector Control (4) |
26 | 1.0 BN/VT | 1744 | Fuel Injector Control (1) |
27 | 1.0 D-BU/WH | 5421 | Fuel Injector Supply Voltage (1) |
28-29 | -- | -- | Not Used |
30 | 0.5 BK/YE | 1716 | Knock Sensor Low Reference (1) |
31 | 0.5 VT/GY | 496 | Knock Sensor Signal (1) |
32 | 0.5 WH | 1876 | Knock Sensor Signal (2) |
33 | 0.5 BK/GY | 2303 | Knock Sensor Low Reference (2) |
34 | 0.5 D-GN | 1533 | Turbo Boost Pressure Sensor Signal |
35 | 0.5 BK/D-GN | 2919 | Fuel Rail Pressure Sensor Low Reference |
36-37 | -- | -- | Not Used |
38 | 0.5 BN/RD | 2917 | Fuel Rail Pressure Sensor (5) Volt Reference |
39 | 0.5 VT/D-BU | 2867 | Crankshaft Position Sensor Supply Voltage |
40 | 0.5 GY | 7376 | Camshaft Position Sensor 5V Supply Voltage |
41 | 0.5 WH | 5638 | Turbo Boost Pressure Sensor Low Reference |
42 | -- | -- | Not Used |
43 | 0.5 BN/D-BU | 3594 | 5V Reference |
44 | 0.5 BK/YE | 6055 | Exhaust Pressure Sensor Low Reference (1) |
45 | 0.5 BK/BN | 2761 | Coolant Temperature Sensor Low Reference |
46 | 0.5 BK/BN | 6062 | Fuel Temperature Sensor Low Reference |
47 | 0.5 BK/YE | 632 | Camshaft Position Sensor Low Reference |
48 | 0.5 BK/BN | 5929 | Variable Nozzle Turbo Position Sensor Low Reference |
49 | -- | -- | Not Used |
50 | 1.0 D-BU/YE | 5422 | Fuel Injector Supply Voltage (2) |
51 | 1.0 D-BU/D-GN | 5423 | Fuel Injector Supply Voltage (3) |
52 | 0.5 WH/GY | 1786 | Transmission Park/Neutral Signal (1) (MH7) |
53 | -- | -- | Not Used |
54 | 0.5 D-GN | 6935 | Heated Oxygen Sensor Current Adjust Signal |
55 | 0.5 BN/WH | 6933 | Heated Oxygen Sensor Current Pump Signal |
56 | 0.5 YE | 6936 | Heated Oxygen Sensor Collector Signal |
57 | 0.5 BN | 6934 | Heated Oxygen Sensor Common |
58 | 0.5 D-GN/ WH | 492 | Mass Air Flow Sensor Signal |
59 | 0.5 YE/VT | 633 | Camshaft Position Sensor Signal |
60 | 0.5 D-GN | 573 | Crankshaft Position Sensor Signal (1) |
61 | 0.5 GY/RD | 5928 | Variable Nozzle Turbo Position Sensor Voltage Reference |
62 | -- | -- | Not Used |
63 | 0.5 GY/RD | 416 | Throttle Position Sensor 5 Volt Reference |
64 | 0.5 D-BU/RD | 2702 | Exhaust Gas Recirculation 5 Volt Reference (2) |
65 | -- | -- | Not Used |
66 | 0.5 WH/RD | 6054 | Exhaust Pressure Sensor 5 Volt Reference (1) |
67 | 0.5 BN/RD | 5639 | Turbo Boost Pressure Sensor 5 Volt Reference |
68 | -- | -- | Not Used |
69 | 0.5 BK/YE | 7315 | Variable Swirl Valve Position Sensor Ground |
70 | 0.5 BK/BN | 2752 | Throttle Position Sensor Low Reference |
71 | 0.5 BK/VT | 2760 | Intake Air Temperature Sensor Low Reference |
72 | 0.5 BK/BN | 2753 | Exhaust Gas Recirculation Sensor Low Reference |
73 | -- | -- | Not Used |
74 | 1.0 YE/WH | 1745 | Fuel Injector Control (2) |
75 | 1.0 BN/VT | 1746 | Fuel Injector Control (3) |
76 | -- | -- | Not Used |
77 | 0.75 BN/BK | 2929 | - |
78 | 0.5 WH/D-BU | 6311 | Cruise/ETC/TCC Brake Signal |
79 | 0.5 GY | 23 | Generator Field Duty Cycle Signal |
80 | 0.5 BN/GY | 29 | Horn Control |
81 | -- | -- | Not Used |
82 | 0.5 GY/WH | 3113 | Heated Oxygen Sensor Heater Low Control Bank 1 Sensor (1) |
83 | 0.5 GY/BK | 561 | Throttle Relaxer Motor Low Reference |
84 | 0.5 WH | 560 | Throttle Relaxer Motor Supply Voltage |
85 | 0.5 D-BU | 335 | Low Speed Cooling Fan Relay Control |
86 | 0.5 BN/GY | 435 | Exhaust Gas Recirculation Solenoid Control |
87 | 0.5 BK/VT | 574 | Crankshaft Position Sensor Low Reference (1) |
88 | 0.5 WH/BK | 5931 | Variable Nozzle Turbo Solenoid Low Signal |
89 | 0.5 D-GN/GY | 7316 | Variable Swirl Valve PWM Control Signal |
90 | 0.5 WH/BN | 5764 | Exhaust Gas Recirculation Valve Motor High Signal |
91 | 0.5 VT/BK | 5746 | Exhaust Gas Recirculation Valve Motor Low Signal |
92-94 | -- | -- | Not Used |
95 | 0.5 WH/BN | 508 | Water In Fuel Indicator Control |
96 | 0.5 BN | 445 | Oil Pressure Gauge Signal |
| © Copyright Chevrolet. All rights reserved |