To the top of the document
Cruze
   
GMDE Start Page Load static TOC Load dynamic TOC Help?

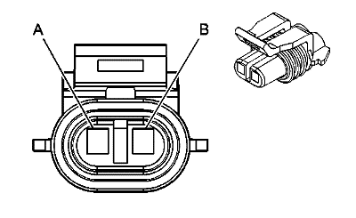
B16 Reversing Light Switch (LNP with MYJ)


635009

Connector Part Information

  • Harness Type: Engine
  • OEM Connector: 12052641
  • Service Connector: 12102747
  • Description: 2-Way F Metri-Pack 150 Series (BK)

Terminal Part Information

  • Terminated Lead: 13575414
  • Release Tool: J-38125-553
  • Diagnostic Test Probe: J-35616-2A (GY)

B16 Reversing Light Switch (LNP with MYJ)

Pin

Wire

Circuit

Function

A

0.5 GY/BK

6316

Engine Reverse Gear Switch Signal

B

0.5 BK

250

Ground

   


© Copyright Chevrolet. All rights reserved