To the top of the document
Cruze
   
GMDE Start Page Load static TOC Load dynamic TOC Help?

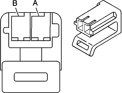
Q8 Control Solenoid Valve Assembly X4 (MH7, MH8, or MH9)


95784

Connector Part Information

  • Harness Type: Automatic Transmission
  • OEM Connector: 13543034
  • Service Connector: Non-Serviceable
  • Description: 2-Way F Metri-Pack 150.2 Series (L-GY)

Terminal Part Information

  • Terminated Lead: Service by Component Assembly
  • Release Tool: Not Available
  • Diagnostic Test Probe: J-35616-14 (GN)
  • Terminal/Tray: Not Available
  • Core/Insulation Crimp: Not Available

Q8 Control Solenoid Valve Assembly X4 (MH7, MH8, or MH9)

Pin

Wire

Circuit

Function

A

0.5 WH

-

OSS High Signal

B

0.5 BK

OSS Low Signal

   


© Copyright Chevrolet. All rights reserved