To the top of the document
Cruze
   
GMDE Start Page Load static TOC Load dynamic TOC Help?

Transmission Replacement

Special Tools

    • CH-904 Base Frame
    • DT-47648 Transmission Holder
    • EN-47649 Engine Support Fixture
    • CH-49289 Centring Frame
    • CH-49290 Engine Support Tool

For equivalent regional tools, refer to Special Tools .

Removal Procedure

  1. Remove the battery tray. Refer to Battery Tray Replacement .
  2. Note: Do NOT disconnect engine coolant hoses.

  3. Remove the radiator expansion tank and lay aside. Refer to Radiator Surge Tank Replacement .
  4. Remove the transmission gear shift lever cable from transmission. Refer to Manual Transmission Shift Lever and Selector Lever Cable Replacement .

  5. 2192105
  6. Disconnect reverse lamp switch electrical connector (1).

  7. 2192107

    Note: Before disconnecting the clutch actuator cylinder front pipe, remove the clutch/brake fluid from the reservoir tank. Place basin underneath.

  8. Remove the clutch actuator cylinder front pipe retainer (1).
  9. Remove the clutch actuator cylinder front pipe (2) from the clutch actuator cylinder pipe elbow.
  10. Remove exhaust particulate filter. Refer to Exhaust Particulate Filter Replacement : 2.0L Diesel LNP → 1.7L Diesel LPL and LPV → 2.0L Diesel LLW .

  11. 2506336
  12. Remove wiring harness starter motor from transmission. Remove 2 bolts (1, 2).

  13. 2506267
  14. Remove the 2 upper transmission studs from engine (2) and upper transmission bolt (1).
  15. Raise and support the vehicle. Refer to Lifting and Jacking the Vehicle .
  16. Remove the front compartment insulator. Refer to Front Compartment Insulator Replacement .
  17. Install CH-49290 support tool, for the assembly use attached installation manual.
  18. Remove the drivetrain and front suspension frame. Refer to Drivetrain and Front Suspension Frame Replacement .
  19. Remove transmission front mount from transmission . Refer to Transmission Front Mount Replacement .
  20. Remove the transmission mount bracket - rear from transmission . Refer to Transmission Mount Bracket Replacement - Rear .
  21. Drain transmission fluid. Refer to Transmission Fluid Level Inspection .
  22. Disconnect the left front wheel drive shaft from the transmission. Refer to Front Wheel Drive Shaft Replacement - Left Side .
  23. Remove the front wheel drive intermediate shaft. Refer to Front Wheel Drive Intermediate Shaft Replacement .
  24. Lower the vehicle.
  25. Install the EN-47649 engine support fixture. Refer to Engine Support Fixture .

  26. 2192117
  27. Remove and DISCARD the transmission left mount bolts (1) from transmission mount bracket.
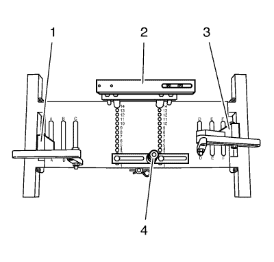
  28. Lower the engine and the transmission on the left hand side with the EN-47649 engine support fixture.

  29. 2192125
  30. Remove transmission mount bracket - left side. Remove 3 transmission mount bracket bolts (1).
  31. Raise the vehicle.
  32. Loosen the starter motor. Refer to Starter Replacement : 2.0L Diesel LNP with MT → 2.0L Diesel LNP with AT → 1.4L LDD, LUH, and LUJ → 1.6L LDE, LXV, 1.8L 2H0, and LUW → 1.6L LXT,L2W → 2.0L Diesel LLW .

  33. 2506275
  34. Remove the 4 transmission lower bolts (1, 2).

  35. 2506276
  36. Remove the 2 transmission lower bolts (1).
  37. Caution: Refer to Fastener Caution in the Preface section.

  38. Install NEW oil drain plug and tighten to 50 N·m (37 lb ft).

  39. 2027509
  40. Place DT-47648 transmission holder on CH-904 base frame and pre-install the supports as shown in the illustration.
  41. Pre-install DT-47648-2 converter housing support (4) to position 2 on the base plate.
  42. Pre-install DT-47648-3 transmission housing support (2) to position 14 on the base plate.
  43. Pre-install DT-47648-5 left support with rear transmission swivel arm (1) to position A on the base plate.
  44. Pre-install DT-47648-5 right support with front transmission swivel arm (3) to position F on the base plate.

  45. 2192186

    Note: Before placing in position, slacken all bolt connections of the swivel arms and supports as far as the base plate. Adjust the supports for the converter housing and transmission housing using the spindles until they are as low as possible.

  46. Attach the DT-47648 transmission holder to the transmission.
  47. Align DT-47648 transmission holder under transmission.
  48. Attach swivel arms (1, 2) to transmission.
  49. Note: Align the swivel arms so that as little leverage as possible is created.

  50. Tighten the bolt connections of the swivel arms, starting from the transmission and going as far as the base plate.
  51. Position supports for clutch housing and transmission housing on transmission by twist up the spindles.
  52. Tighten bolt connections of the supports.

  53. 2506277
  54. Remove the last transmission bolt from engine (1).
  55. Separate the transmission from the engine.
  56. Lower the transmission with the transmission jack and DT-47648 transmission holder far enough to remove the transmission.

Installation Procedure

  1. Raise the transmission with the transmission jack and DT-47648 transmission holder and position the transmission to the engine.
  2. Caution: Refer to Fastener Caution in the Preface section.


    2506277
  3. Install the transmission bolt to engine (1) and tighten to 45 N·m (33 lb ft).
  4. Remove the transmission jack with the DT-47648 transmission holder.

  5. 2506276
  6. Install the transmission lower bolts (1) and tighten to 45 N·m (33 lb ft).

  7. 2506275
  8. Install the transmission lower bolts (3) and tighten to 45 N·m (33 lb ft).
  9. Lower the vehicle.

  10. 2192125
  11. Install transmission mount bracket - left side. Install the 3 transmission mount bracket bolts (1) and tighten to 100 N·m (74 lb ft).
  12. Raise the engine and the transmission on the left hand side with the EN-47649 engine support fixture.

  13. 2192117
  14. Install the 3 NEW transmission mount bolts (1) but do not tighten yet.
  15. Raise the vehicle.
  16. Install the starter motor. Refer to Starter Replacement : 2.0L Diesel LNP with MT → 2.0L Diesel LNP with AT → 1.4L LDD, LUH, and LUJ → 1.6L LDE, LXV, 1.8L 2H0, and LUW → 1.6L LXT,L2W → 2.0L Diesel LLW .
  17. Install the front wheel intermediate drive shaft to the transmission. Refer to Front Wheel Drive Intermediate Shaft Replacement .
  18. Install the left front wheel drive shaft to the transmission. Refer to Front Wheel Drive Shaft Replacement - Left Side .
  19. Install the transmission mount bracket - rear to transmission. Refer to Transmission Mount Bracket Replacement - Rear .
  20. Install transmission front mount to transmission . Refer to Transmission Front Mount Replacement .
  21. Install the drivetrain and front suspension frame. Refer to Drivetrain and Front Suspension Frame Replacement .
  22. Lower the vehicle.
  23. Caution: Refer to Torque-to-Yield Fastener Caution in the Preface section.


    2192117
  24. Tighten the NEW transmission mount bolts - left hand side (1) to 50 N·m + 60° - 75° (37 lb ft + 60° - 75°).
  25. Remove the EN-47649 engine support fixture . Refer to Engine Support Fixture .

  26. 2506267
  27. Remove the 2 upper transmission studs from engine (2) and upper transmission bolt (1).

  28. 2506267
  29. Install the 2 upper transmission studs to engine (2) and the upper transmission bolt (1) and tighten to 45 N·m (33 lb ft).
  30. Remove the CH-49290 engine support tool.
  31. Install the front compartment insulator. Refer to Front Compartment Insulator Replacement .

  32. 2506336
  33. Install wiring harness starter motor to transmission. Install 2 bolts (1, 2) and tighten to 22 N·m (16 lb ft).

  34. 2192107
  35. Connect the clutch actuator cylinder front pipe (2) to the clutch actuator cylinder pipe elbow.
  36. Install the clutch actuator cylinder front pipe retainer (1) to the clutch actuator cylinder pipe elbow.

  37. 2192105
  38. Connect the electrical connector (1) to the reverse lamp switch.
  39. Install the transmission gear shift lever cable to transmission. Refer to Manual Transmission Shift Lever and Selector Lever Cable Replacement .
  40. Bleed the clutch hydraulic system. Refer to Hydraulic Clutch System Bleeding .
  41. Fill the transmission with correct fluid.
  42. Inspect transmission fluid level. Refer to Transmission Fluid Level Inspection .

  43. 2027873
  44. Install the radiator surge tank. Refer to Radiator Surge Tank Replacement .
  45. Install the battery tray. Refer to Battery Tray Replacement .
  46. Road test the vehicle.
   


© Copyright Chevrolet. All rights reserved