To the top of the document
Cruze
   
GMDE Start Page Load static TOC Load dynamic TOC Help?

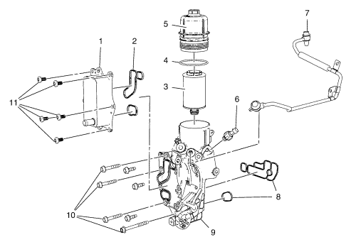
Oil Filter Adapter


2512582
(1)Oil Cooler
(2)Oil Cooler Gaskets
(3)Oil Filter
(4)Oil Filter Cap Seal
(5)Oil Filter Cap
(6)Oil Pressure Switch
(7)Turbocharger Oil Feed Pipe
(8)Oil Filter Adaptor Gaskets
(9)Oil Filter Adapter
(10)Oil Filter Housing Bolts
(11)Oil Cooler Bolts
   


© Copyright Chevrolet. All rights reserved