To the top of the document
Cruze
   
GMDE Start Page Load static TOC Load dynamic TOC Help?

Exhaust System


2512575
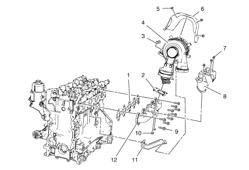
(1)Exhaust Manifold Gasket
(2)Turbocharger Gasket
(3)Turbocharger Nut
(4)Turbocharger
(5)Turbocharger Heat Shield Bolt
(6)Turbocharger Heat Shield
(7)Exhaust Manifold Heat Shield Bolt
(8)Exhaust Manifold Heat Shield
(9)Exhaust Manifold Bolt
(10)Turbocharger Nut
(11)Turbocharger Bracket
(12)Exhaust Manifold
   


© Copyright Chevrolet. All rights reserved