To the top of the document
Cruze
   
GMDE Start Page Load static TOC Load dynamic TOC Help?

Lower Crankcase Removal


    2373334
  1. Remove the 6 lower crankcase retaining bolts (1).

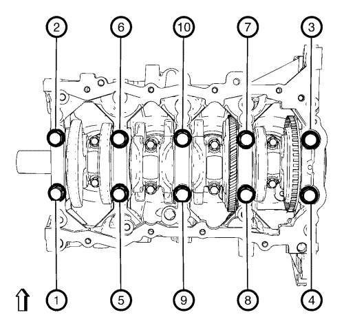
  2. 2373373
  3. Evenly loosen the 10 lower crankcase bolts in sequence as shown.

  4. 2373335

    Note: The crankshaft is only loosely fitted in the cylinder block after removal of the lower crankcase retaining bolts.

  5. Remove the 10 lower crankcase retaining bolts (2).
  6. Note: Carefully detach from engine block, using a suitable tool. Do not damage sealing surfaces.

  7. Remove the lower crankcase (1).
   


© Copyright Chevrolet. All rights reserved