To the top of the document
Cruze
   
GMDE Start Page Load static TOC Load dynamic TOC Help?

Camshaft Cover Replacement

Removal Procedure

  1. Remove the engine sight shield. Refer to Engine Sight Shield Replacement .
  2. Remove the positive crankcase ventilation. Refer to Positive Crankcase Ventilation Hose/Pipe/Tube Replacement .
  3. Remove the fuel injection feed pipes - fuel rail to fuel injector. Refer to Fuel Injection Fuel Feed Pipe Replacement - Fuel Injection Pump to Fuel Rail .
  4. Remove the fuel injectors. Refer to Fuel Injector Replacement .
  5. Remove the turbocharger coolant return pipe. Refer to Turbocharger Coolant Return Pipe Replacement : 2.0L Diesel LNP → 1.4L LUH and LUJ .

  6. 2506261
  7. Remove the 2 wiring harness retaining bolts (1), lay the wiring harness (2) aside.

  8. 2373148
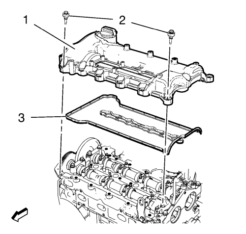
  9. Remove 20 camshaft cover retaining bolts (2).
  10. Remove the camshaft cover (1) along with the gasket (3).

Installation Procedure

  1. Clean the sealing surfaces.

  2. 2373289

    Note: The complete installation procedure of the camshaft cover should be done in 10 minutes.

    Note: Do not coat the sealing compound on the camshaft guide bolt holes and threads.

  3. Apply the sealing compound on the sealant lines (1).

  4. 2373148
  5. Install the camshaft cover (1) in conjunction with a NEW gasket (3).
  6. Caution: Refer to Fastener Caution in the Preface section.

  7. Install the 20 camshaft cover retaining bolts (2) and tighten to  10 N·m (89 lb in).

  8. 2506261
  9. Install the 2 wiring harness retaining bolts (1) and tighten to 10 N·m (89 lb in).
  10. Install the turbocharger coolant return pipe. Refer to Turbocharger Coolant Return Pipe Replacement : 2.0L Diesel LNP → 1.4L LUH and LUJ .
  11. Install the fuel injectors. Refer to Fuel Injector Replacement .
  12. Install the fuel injection feed pipes - fuel rail to fuel injector. Refer to Fuel Injection Fuel Feed Pipe Replacement - Fuel Injection Pump to Fuel Rail .
  13. Install the positive crankcase ventilation. Refer to Positive Crankcase Ventilation Hose/Pipe/Tube Replacement .
  14. Install the engine sight shield. Refer to Engine Sight Shield Replacement .
   


© Copyright Chevrolet. All rights reserved