To the top of the document
Cruze
   
GMDE Start Page Load static TOC Load dynamic TOC Help?

Evaporative Emission Control System Description

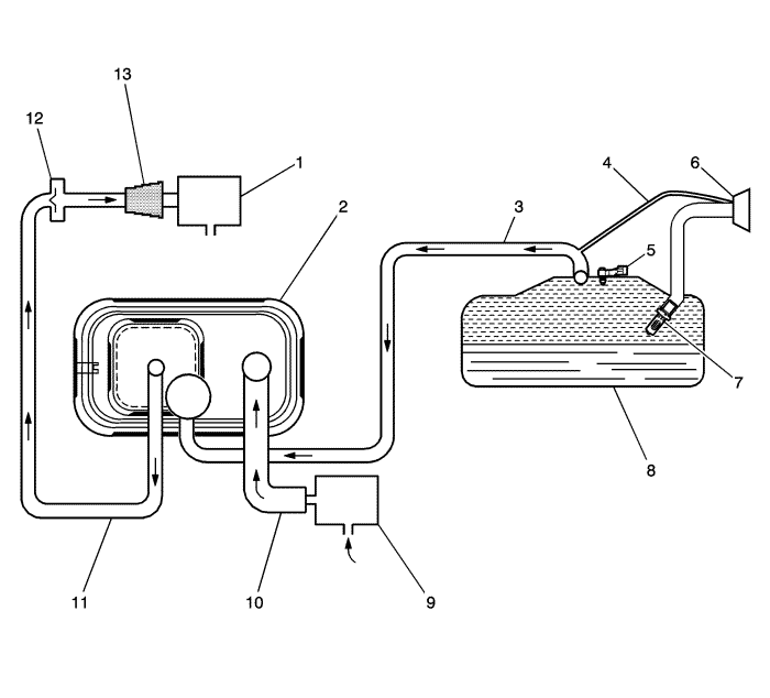
Typical Evaporative Emission (EVAP) System Hose Routing Diagram


2258660
(1)Evaporative Emissions (EVAP) Purge Solenoid Valve
(2)EVAP Canister
(3)EVAP Vapor Tube
(4)Vapour Recirculation Tube
(5)Fuel Tank Pressure Sensor
(6)Fuel Filler Cap
(7)Fuel Fill Pipe Inlet Check Valve
(8)Fuel Tank
(9)EVAP Canister Vent Solenoid Valve
(10)Vent hose
(11)EVAP Purge Tube
(12)Purge Tube Check Valve, Turbo-Charged Applications
(13)EVAP Canister Purge Tube Connector

EVAP System Operation

The evaporative emission (EVAP) control system limits fuel vapours from escaping into the atmosphere. Fuel tank vapours are allowed to move from the fuel tank, due to pressure in the tank, through the EVAP vapour tube, into the EVAP canister. Carbon in the canister absorbs and stores the fuel vapours. Excess pressure is vented through the vent hose and EVAP canister vent solenoid valve to the atmosphere. The EVAP canister stores the fuel vapors until the engine is able to use them. At an appropriate time, the engine control module (ECM) will command the EVAP purge solenoid valve ON, allowing engine vacuum to be applied to the EVAP canister. With the normally open EVAP canister vent solenoid valve OFF, fresh air is drawn through the vent solenoid valve and the vent hose to the EVAP canister. Fresh air is drawn through the canister, pulling fuel vapours from the carbon. The air/fuel vapour mixture continues through the EVAP purge tube and EVAP purge solenoid valve into the intake manifold to be consumed during normal combustion. The control module uses several tests to determine if the EVAP system is leaking or restricted.

Purge Solenoid Valve Leak Test

If the evaporative emission (EVAP) purge solenoid valve does not seal properly fuel vapours could enter the engine at an undesired time, causing driveability concerns. The ECM tests for this by commanding the EVAP purge solenoid valve OFF and the canister vent solenoid valve ON which seals the system. With the engine running, the ECM then monitors the fuel tank pressure sensor for an increase in vacuum. The ECM will log a fault if a vacuum develops in the tank under these test conditions.

Large Leak Test

This diagnostic creates a vacuum condition in the EVAP system. When the enabling criteria has been met, the control module commands the normally open EVAP canister vent solenoid valve closed and the EVAP purge solenoid valve open, creating a vacuum in the EVAP system. The ECM then monitors the fuel tank pressure sensor voltage to verify that the system is able to reach a predetermined level of vacuum within a set amount of time. Failure to achieve the expected level of vacuum indicates the presence of a large leak in the EVAP system or a restriction in the purge path. The ECM will log a fault if it detects a vacuum level that is more weak than expected under these test conditions.

Canister Vent Restriction Test

If the evaporative emission (EVAP) vent system is restricted, fuel vapours will not be properly purged from the EVAP canister. The control module tests this by commanding the EVAP purge solenoid valve ON while commanding the EVAP canister vent solenoid valve OFF, and then monitoring the fuel tank pressure sensor for an increase in vacuum. If the vacuum increases more than the expected amount, in a set amount of time, a fault will be logged by the ECM.

Small Leak Test

The engine off natural vacuum diagnostic is the small leak detection diagnostic for the evaporative emission (EVAP) system. The engine off natural vacuum diagnostic monitors the EVAP system pressure with the ignition OFF. Because of this, it may be normal for the control module to remain active for up to 40 min after the ignition is turned OFF. This is important to remember when performing a parasitic draw test on vehicles equipped with engine off natural vacuum.

When the vehicle is driven, the temperature rises in the tank due to heat transfer from the exhaust system. After the vehicle is parked, the temperature in the tank continues to rise for a period of time, then starts to drop. The engine off natural vacuum diagnostic relies on this temperature change, and the corresponding pressure change in a sealed system, to determine if an EVAP system leak is present.

The engine off natural vacuum diagnostic is designed to detect leaks as small as 0.51 mm (0.020 in).

EVAP System Components

The evaporative emission (EVAP) system consists of the following components:

EVAP Canister Purge Solenoid Valve

The EVAP canister purge solenoid valve controls the flow of vapours from the EVAP system to the intake manifold. The purge solenoid valve opens when commanded ON by the control module. This normally closed valve is pulse width modulated (PWM) by the control module to precisely control the flow of fuel vapour to the engine. The valve will also be opened during some portions of the EVAP testing when the engine is running, allowing engine vacuum to enter the EVAP system.

Purge Tube Check Valve

Turbocharged vehicles have a check valve in the purge tube between the EVAP purge solenoid valve and the EVAP canister to prevent pressure up of the EVAP system under boost conditions. Note that the presence of this one way check valve prevents pressure testing the EVAP system for leaks at the EVAP canister purge tube connector.

EVAP Canister

The canister is filled with carbon pellets used to absorb and store fuel vapours. Fuel vapour is stored in the canister until the control module determines that the vapour can be consumed in the normal combustion process.

Vapour Recirculation Tube

A vapour path between the fuel fill pipe and the vapour tube to the carbon canister is necessary for Vehicle Onboard Diagnostics to fully diagnose the EVAP system. It also accommodates service diagnostic procedures by allowing the entire EVAP system to be diagnosed from the either end of the system.

Fuel Tank Pressure Sensor

The fuel tank pressure sensor measures the difference between the pressure or vacuum in the fuel tank and outside air pressure. The control module provides a 5 V reference and a ground to the fuel tank pressure sensor. Depending on the vehicle, the sensor can be located in the vapour space on top of the fuel tank, in the vapour tube between the canister and the tank, or on the EVAP canister. The fuel tank pressure sensor provides a signal voltage back to the control module that can vary between 0.1-4.9 V. A high fuel tank pressure sensor voltage indicates a low fuel tank pressure or vacuum. A low fuel tank pressure sensor voltage indicates a high fuel tank pressure.

Fuel Fill Pipe Check Valve

The check valve on the fuel fill pipe is there to prevent spit back during refuelling.

EVAP Canister Vent Solenoid Valve

The EVAP vent solenoid valve controls fresh airflow into the EVAP canister. The valve is normally open. The canister vent solenoid valve is closed only during EVAP system tests performed by the ECM.

Fuel Fill Cap

The fuel fill cap is equipped with a seal and a vacuum relief valve.

   


© Copyright Chevrolet. All rights reserved