To the top of the document
Cruze
   
GMDE Start Page Load static TOC Load dynamic TOC Help?

Cooling System Description and Operation - 1.4L LDD and LUJ

Cooling System

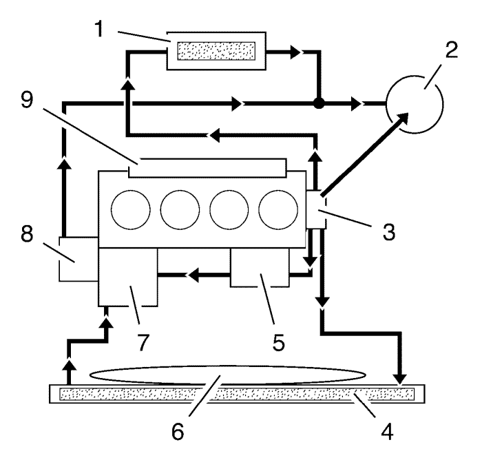
The cooling systems function is to maintain an efficient engine operating temperature during all engine speeds and operating conditions. The cooling system is designed to remove approximately one-third of the heat produced by the burning of the air-fuel mixture. When the engine is cold, the coolant does not flow to the radiator until the thermostat opens. This allows the engine to warm quickly. Refer to the following illustration for the components in the system and the basic flow path of the coolant.


2373023

The cooling system consists of the following components:

    • The Heater (1)
    • The Surge Tank (2)
    • The Water Outlet (3)
    • The Radiator (4)
    • The Engine Oil Cooler (5)
    • Cooling Fan (6)
    • Thermostat Housing (7)
    • The Water Pump (8)
    • Inlet Manifold (9)

Water Pump


2373024

Water pump is a component of the engine cooling system and circulated the coolant from each cooling circuit components. This water pump consists of sealing, bearing, pulley (1) and housing (2) and is driven by the drive belt to eliminate noise to water pump pulley. Water pump apply drain hole cup to cap to prevent coolant leakage for customers. Water pump is not open impeller type but closed plastic impeller type (3) to increase the cooling efficiency.

Thermostat


2373025

The Thermostat is a regular Part of the Thermostat Housing (1). The thermostat controls coolant flowing. By coolant temperature, the wax-pellet (2) of the thermostat expanded and shrunk mechanically main spring to flow the coolant. The thermostat begins to open at 105°C (221°F) and fully open at 120°C (248°F).

Radiator

The radiator is a heat exchanger. It consists of a core and 2 tanks. The aluminium core is a tube and fin cross-flow design that extends from the inlet tank to the outlet tank. Fins are placed around the outside of the tubes to improve heat transfer to the atmosphere. The inlet and outlet tanks are a molded, high temperature, nylon reinforced plastic material. A high temperature rubber gasket seals the tank flange edge to the aluminium core. The tanks are clamped to the core with clinch tabs. The tabs are part of the aluminium manifold exhaust at each end of the core. The radiator also has a drain cock located in the bottom of the left hand tank. The drain cock unit includes the drain cock and drain cock seal. The radiator removes heat from the coolant passing through it. The fins on the core transfer heat from the coolant passing through the tubes. As air passes between the fins, it absorbs heat and cools the coolant.

Surge Tank

The surge tank is a plastic tank with a threaded pressure cap. The tank is mounted at a point higher than all other coolant passages. The surge tank provides an air space in the cooling system that allows the coolant to expand and contract. The surge tank provides a coolant fill point and a central air bleed location. During vehicle use, the coolant heats and expands. The increased coolant volume flows into the surge tank. As the coolant circulates, any air is allowed to bubble out. Coolant without air bubbles absorbs heat much better than coolant with bubbles.

Cooling Fan

The cooling fan is mounted behind the radiator in the engine compartment. The engine cooling fan is driven by electric power. The cooling fan draws air through the radiator to improve the transfer of heat from the coolant to the atmosphere. As the fan blades spin, they increase the flow of air across the radiator core and across the condenser on air condition (A/C) equipped vehicles. This helps to speed cooling when the vehicle is at idle or moving at low speeds.

   


© Copyright Chevrolet. All rights reserved