To the top of the document
Cruze
   
GMDE Start Page Load static TOC Load dynamic TOC Help?

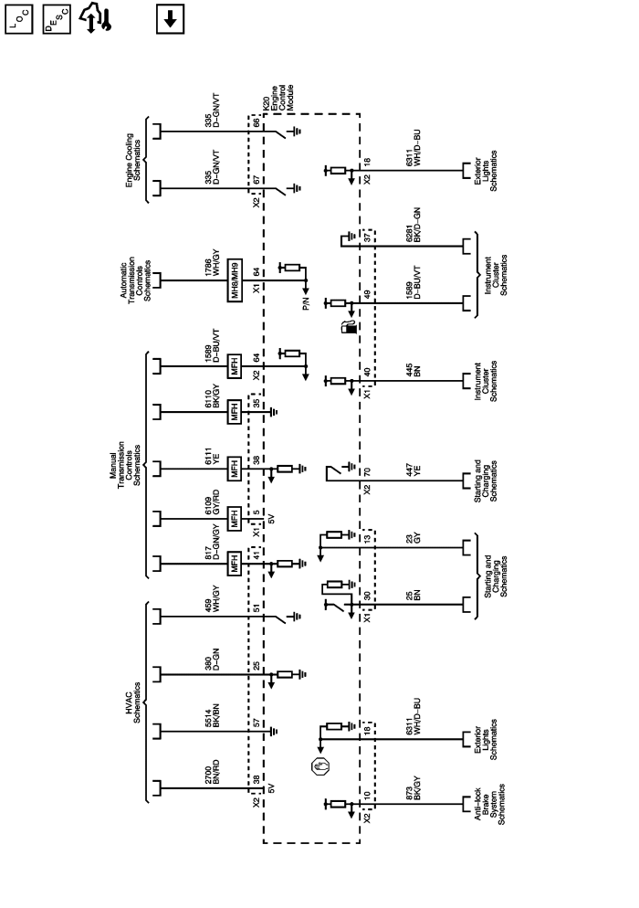
Controlled/Monitored Subsystem References



            |                         |            
2443574EN.png

Display graphic

   


© Copyright Chevrolet. All rights reserved