To the top of the document
Cruze
   
GMDE Start Page Load static TOC Load dynamic TOC Help?

Engine Front Cover and Oil Pump Cleaning and Inspection

Engine Front Cover Cleaning Procedure

  1. Clean the engine front cover sealing surface.

  2. 2191041

    Warning: Wear safety glasses when using compressed air in order to prevent eye injury.

    Caution: To ensure proper engine lubrication, clean clogged or contaminated oil galleries in an approved solvent and with compressed air. Failure to clean oil galleries may cause engine damage.

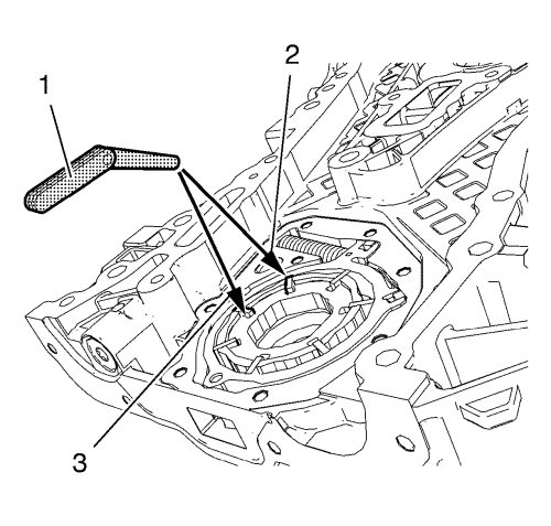
  3. Clean the shown oil gallery with solvent and compressed air. Blow compressed air from bore (2) to bore (1).

Engine Front Cover Visual Inspection

Inspect the engine front cover for cracks, scratches and damage.

Oil Pump Visual Inspection and Measurement

  1. Inspect the oil pump cover and the engine front cover for flatness.
  2. Inspect the oil pump vanes, the oil pump vane rotor, the oil pump vane rings and the oil pump slide for localised flatting.
  3. Inspect the oil pump slide pivot pin for firm seat.

  4. 2191042

    Note: Oil pump components are installed.

  5. Measure the oil pump axial clearances. Use a straight edge (1) and a feeler gauge.
  6. 4.1. The maximal axial clearance between engine front cover and oil pump vane rotor should be 0.1 mm (0.004 in).
    4.2. The maximum axial clearance between engine front cover and oil pump vane should be 0.09 mm (0.0035 in).
    4.3. The maximum axial clearance between engine front cover and oil pump vane ring should be 0.4 mm (0.016 in).
    4.4. The maximum axial clearance between engine front cover and oil pump slide should be 0.08 mm (0.0031 in).
    4.5. The maximum axial clearance between engine front cover and oil pump slide seal should be 0.09 mm (0.0035 in).

    2191044
  7. Measure the oil pump radial clearance. Use a feeler gauge (1). Measure the clearance between oil pump vane rotor and oil pump vane (3).
  8. The maximum clearance should be 0.05 mm (0.002 in).

  9. Measure the clearance between oil pump vane and oil pump slide (2).
  10. The maximum clearance should be 0.2 mm (0.008 in).

   


© Copyright Chevrolet. All rights reserved