To the top of the document
Cruze
   
GMDE Start Page Load static TOC Load dynamic TOC Help?

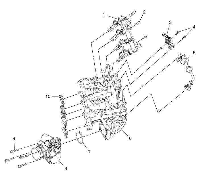
Intake Manifold Assembly - 1.4L LUH and LUJ


2191851
(1)Fuel Injector Fuel Rail
(2)Fuel Injector Fuel Rail Bolt
(3)Manifold Absolute Pressure Sensor
(4)Manifold Absolute Pressure Sensor Bolt
(5)Evaporative Emission Canister Purge Solenoid Valve
(6)Inlet Manifold
(7)Throttle Body Seal Ring
(8)Throttle Body
(9)Throttle Body Bolt
(10)Inlet Manifold Gasket
   


© Copyright Chevrolet. All rights reserved