To the top of the document
Cruze
   
GMDE Start Page Load static TOC Load dynamic TOC Help?

Fuel Tank Fuel Pump Module Replacement

Special Tools

    • EN-6015 Closure Plugs
    • EN-48279 Main Fuel Pump Locking Ring Remover/Installer

For equivalent regional tools, refer to Special Tools .

Removal Procedure

  1. Remove the fuel tank. Refer to Fuel Tank Replacement .

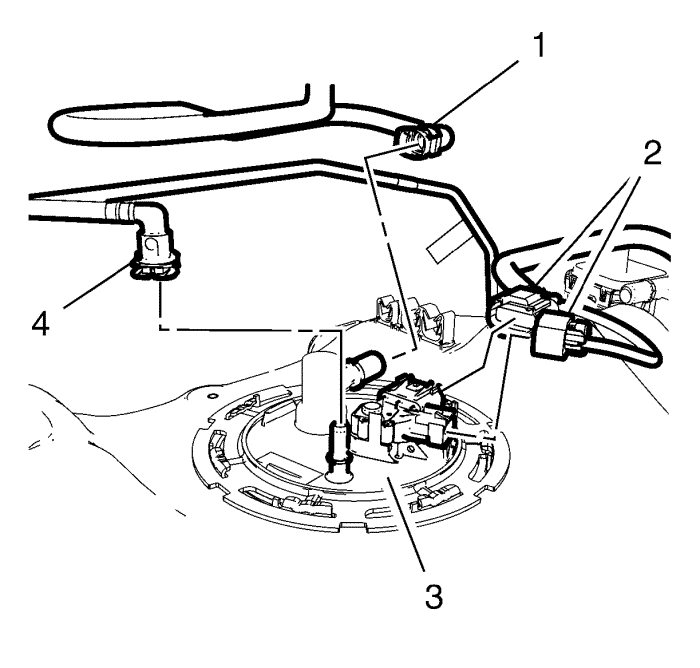
  2. 2373083
  3. Disconnect the fuel tank vent pipe (1) and the fuel feed pipe (4) from the fuel tank fuel pump module (3).
  4. Disconnect the fuel tank fuel pump module wiring harness (2) from the fuel tank fuel pump module (3).
  5. Close the fuel feed pipe and the fuel tank vent feed pipe withEN-6015 closure plugs .

  6. 2373086
  7. Install the EN-48279 remover/installer (1) to the fuel pump module lock ring (2).
  8. Note: Do NOT use impact tools. Significant force will be required to release the lock ring. The use of a hammer and screwdriver is not recommended. Secure the fuel tank in order to prevent fuel tank rotation.

  9. Using theEN-48279 remover/installer and a long breaker-bar, rotate the fuel pump module lock ring in an anticlockwise direction in order to unlock the lock ring.

  10. 2373084
  11. Remove fuel tank fuel pump module lock ring (1).
  12. Remove the fuel tank fuel pump module (2).
  13. Note: Lift the fuel tank fuel pump module up slightly.

  14. Remove and discard the fuel pump module seal (3).

Installation Procedure


    2373084
  1. Install a NEW fuel tank module seal (3).
  2. Install the fuel tank fuel pump module (2).
  3. Install the fuel pump module lock ring (1).

  4. 2373085
  5. Make sure that the fuel tank fuel pump module (2) align with the fuel tank line (1).

  6. 2373086
  7. Install theEN-48279 remover/installer (1) to the fuel tank fuel pump module lock ring (2).
  8. Note: Do NOT use impact tools. Significant force will be required to release the lock ring. The use of a hammer and screwdriver is not recommended. Secure the fuel tank in order to prevent fuel tank rotation.

  9. Using the EN-48279 remover/installer and a long breaker-bar, rotate the lock ring in a clockwise direction in order to lock the lock ring.

  10. 2373083
  11. Connect the fuel tank fuel pump module wiring harness (2) to the fuel tank fuel pump module (3).
  12. Remove theEN-6015 closure plugs from the fuel feed pipe and the fuel tank vent feed pipe.
  13. Connect the fuel tank vent pipe (1) and the fuel feed pipe (4) to the fuel tank fuel pump module (3).
  14. Install the fuel tank. Refer to Fuel Tank Replacement .
   


© Copyright Chevrolet. All rights reserved