To the top of the document
Cruze
   
GMDE Start Page Load static TOC Load dynamic TOC Help?

Engine Support Fixture

Special Tools

    • EN 47649 Engine Bridge
    • EN 47649-100 Engine Bridge Feet
    • EN 47650 Retainer Frame
    • EN 47650-050 Mounting Rail
    • EN 47650-30 Extension
    • EN 47650-250 Front Adapter
    • EN 47650-300 Rear Adapter

For equivalent regional tools refer to, Special Tools .

Assemble EN-47649 Engine Bridge


2188684

Install EN 47649-100 feet (4) to EN 47649 bridge (1).

  1. Tighten mounting bolt (2) and nut (6) on both sides.
  2. Put washer (5) under nut on both sides.

  3. Tighten adjustment screw (3) when bridge is adjusted vertical on both sides.

Assemble and Adjustment of EN-47650 - Retainer Frame


2188685
    • Pre-assemble EN 47650-250 adapter (1) by following manufacturer's instructions.

       Note: Pre-assemble special tool assembly outside the vehicle, in accordance with the table.

    • Pre-assemble EN 47650 frame off vehicle.

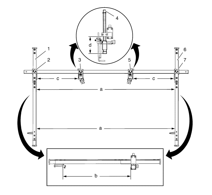
2028380

Measurement

Dimension

a

1425 mm (56 in)

b

510 mm (20 in)

c

425 mm (17 in)

d

140 mm (5.5 in)

  1. Install EN 47650-30 extension bars (1, 6) of the frame set to EN 47650 frame.
  2. Note: Outer bars of EN 47650 frame MUST be arranged parallel.

  3. Tighten hexagons (2, 6) on both sides.
  4. Adjust height of EN 47650 frame.
  5. • Tighten hexagons (3, 5) on both sides.
    • Adjust height with hexagons (4) on both sides

Installation Procedure


    2028379
  1. Use long arm (1) of EN 47650-300 adapter for this operation.

  2. 2189109

    Caution: To avoid paint damage, use protective covers on the wings.

    Note: Do NOT tighten fasteners of EN 47650-300 adapter.

  3. Install EN 47650-300 adapter (1) to hole (2) in the front compartment rail.

  4. 2028032
  5. With the aid of an assistant install EN 47650 frame (1) to the vehicle. If necessary readjust EN 47650 frame (1) for appropriate fitting.

  6. 2028034
  7. Tighten rear side of EN 47650 frame :
  8. 4.1. Insert safety pins (2) through the EN 47650-300 adapters and the side bar to prevent movement.
    4.2. Tighten EN 47650 frame to EN 47650-300 adapters with mounting bolts (1).
    4.3. Tighten bolts (3, 4).

    2188779
    4.4. Tighten outer bolts (1) EN 47650-300 adapters.
    4.5. Retighten ALL hexagons of EN 47650 frame.

    2188784
  9. Tighten front side of EN 47650 frame :
  10. 5.1. Align the hook (1) with thumb wheel (2) to upper tie bar.
    5.2. Tighten the hook (1) to upper tie bar, using the thumb wheel (4).
    5.3. Tighten bolts at clamping piece (3).

    2188686

    Note: EN 47650-050 rail is equipment of EN 47650 frame and enclosed in the EN 47650 frame tool kit.

  11. Install EN 47650-050 rail (4) to EN 47650 frame.
  12. Secure EN 47650-050 rail (4) with safety pins (3).

    Note: Secure chain boxes with hook chains on the outside of engine bride.

  13. Install EN 47649 bridge (5) with the aid of an assistant onto EN 47650-050 rail (4).
  14. Secure EN 47649 bridge (5) with safety pins (2).

  15. When tool assemble EN 47650 frame and EN 47649 bridge is under load, adjust complete assemble and retighten ALL fasteners.

Removal Procedure


    2188686

    Note: Secure chain boxes with hook chains on the outside of engine bride.

  1. Remove EN 47649 bridge (5) with the aid of an assistant.
  2. Remove safety pins (2).

    Note: EN 47650-050 rail is equipment of EN 47650 frame and enclosed in the EN 47650 frame tool kit.

  3. Remove EN 47650-050 rail (4) from EN 47650 frame.
  4. Remove safety pins (3).


    2188784
  5. Remove front side of EN 47650 frame :
  6. • Loosen the bolts from clamping piece (3).
    • Loosen the hook (1) with thumb wheel (2) and turn the hook 90° from upper tie bar.

    2028034
  7. Loosen rear side of EN 47650 frame :
  8. 4.1. Loosen EN 47650 frame from EN 47650-300 adapters with mounting bolts (1).
    4.2. Remove safety pins (2) from the EN 47650-300 adapters and the side bars.

    2028032
  9. With the aid of an assistant remove EN 47650 frame (1) from the vehicle.

  10. 2189109
  11. Remove EN 47650-300 adapter (1) from front compartment rail.

  12. 2028385
  13. Clean contact surfaces (1) from EN 47650 frame on the upper tie bar with solvent.
   


© Copyright Chevrolet. All rights reserved