To the top of the document
Cruze
   
GMDE Start Page Load static TOC Load dynamic TOC Help?

Timing Belt Adjustment - LDE, LED, LFJ, LXV, 2H0, LUW

Special Tools

    • EN-652 Flywheel Holder
    • EN-6333 Locking Pin
    • EN-6340 Locking Tool
    • EN-6628-A Locking Tool
    • EN-45059 Torque Angle Sensor Kit

For equivalent regional tool, refer to Special Tools .

Removal Procedure

  1. Remove the timing belt upper front cover. Refer to Timing Belt Upper Front Cover Removal : LDE, LED, LFJ, LXV, 2H0, LUW .

  2. 1936993
  3. Set the crankshaft balancer in the direction of the engine rotation to "1st cylinder TDC" (mark 1).
  4. Remove the camshaft cover. Refer to Camshaft Cover Removal .

  5. 1944920

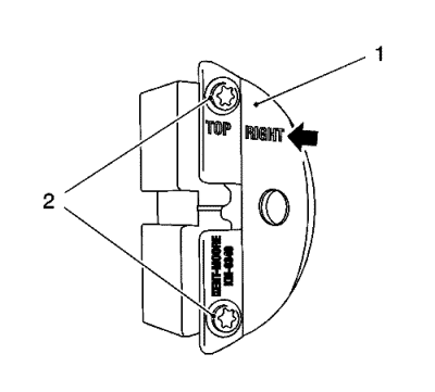
    Note: The right half of the EN-6340 locking tool can be recognised by the lettering "right", arrow, on the tool.

  6. Prepare the right half of the EN-6340 locking tool.
  7. 4.1. Remove the 2 bolts (2).
    4.2. Remove the front panel (1) from the EN-6340 locking tool - right.

    1944922

    Note: 

       • The spot type marking (4) on the inlet camshaft position actuator adjuster does not correspond to the groove of the EN-6340 locking tool - left (1) during this process, but must be somewhat above.
       • The spot type marking (3) on the exhaust camshaft position actuator adjuster must correspond to the groove on EN-6340 locking tool - right (2).

  8. Insert the EN-6340 locking tool - left (1) and the EN-6340 locking tool - right (2) in the camshaft position actuator adjuster.

  9. 1944384
  10. Install the EN-6333 locking pin (1), apply tension to the timing belt tension roller (2) in the direction of the arrow. Install the EN-6333 locking pin (3).
  11. Mark timing belt in direction of rotation.

  12. 2026535
  13. Install the EN-652 flywheel holder (1), lock the flywheel (2) (or automatic transmission flex respectively) via the starter ring gear.

  14. 2026822
  15. Remove and DISCARD the crankshaft balancer bolt (1).
  16. Remove the crankshaft balancer (2).

  17. 2026840
  18. Remove the 4 timing belt lower front cover bolts (2).
  19. Remove the timing belt lower front cover (1).

  20. 2026843
  21. Remove the timing belt idler pulley bolt (1).
  22. Remove the timing belt idler pulley (2).

  23. 2027017
  24. Remove the tensioner bolt (1).
  25. Remove the timing belt tensioner (2).

  26. 2026841
  27. Remove the timing belt (1).
  28. Stop the timing belt tensioner (2).
  29. Remove the EN-652 flywheel holder to unlock the crankshaft.

  30. 2027016
  31. Turn the crankshaft 60° (A) against the direction of engine rotation.

  32. 2026844
  33. Remove the 2 camshaft position actuator adjuster closure bolts (1).
  34. Note: A second technician is required.

  35. Loosen the camshaft position actuator adjuster bolts (2).
  36. Hold at the appropriate camshaft hexagon.

  37. Remove and DISCARD the camshaft position actuator adjuster bolts (2) and the camshaft position actuator adjuster (3).

  38. 2026512
  39. Align the camshafts horizontally by the hexagon arrows, until the EN-6628-A locking tool can be inserted in both camshafts.

  40. 2026534
  41. Insert the EN-6628-A locking tool (1) into the camshafts.

Installation Procedure


    2026844

    Note: Do not tighten the camshaft adjuster bolts.

  1. Install the camshaft position actuator adjuster (3).
  2. Install NEW camshaft position actuator adjuster bolts (2).
  3. Caution: Refer to Fastener Caution in the Preface section.

    Caution: Refer to Torque-to-Yield Fastener Caution in the Preface section.

    Note: A second technician is required.

  4. Tighten the camshaft position actuator adjuster bolts (2) in three passes:
  5. Hold at the appropriate camshaft hexagon.

    3.1. First pass tighten to 65 N·m (48 lb ft).
    3.2. Second pass to 120°.
    3.3. Third pass to 15°.
  6. Replace the camshaft position actuator adjuster seal rings.
  7. Install the 2 camshaft position actuator adjuster closure plugs (1) and tighten to 30 N·m (22 lb ft).
  8. Remove the EN-6628-A locking tool.

  9. 2027017
  10. Clean the timing belt tensioner thread.
  11. Install the timing belt tensioner (2) and tighten the NEW timing belt tensioner bolt (1) to 20 N·m (15 lb ft).
  12. Clean the timing belt idler pulley thread.

  13. 2026843
  14. Install the timing belt idler pulley (2) and tighten the NEW bolt (1) to 25 N·m (18 lb ft).

  15. 2027014

    Note: The timing belt drive gear and oil pump housing must align.

  16. Turn the crankshaft in the direction of engine rotation, by the crankshaft balancer bolt, to cylinder 1 TDC of combustion stroke.

  17. 2026535
  18. Install the EN-652 flywheel holder (1), lock the flywheel (2) (or automatic transmission flex respectively) via the starter ring gear.

  19. 2026841

    Note: Observe direction of rotation.

  20. Insert the timing belt (1).
  21. Apply preliminary tension clockwise to the timing belt tension roller.
  22. Remove the EN-6333 locking pin .
  23. Release the tension on the timing belt tensioner.

  24. 2026840
  25. Install the lower front timing belt cover (1) and tighten the 4 bolts (2) to 6 N·m (53 lb in).

  26. 2026822
  27. Install the crankshaft balancer (2) and NEW bolt (1) and tighten in 3 passes using the EN-45059 sensor kit :
  28. 18.1. First pass to 95 N·m (70 lb ft)
    18.2. Second pass to 45°.
    18.3. Third pass to 15°.
  29. Remove the EN-652 flywheel holder to unlock the crankshaft.
  30. Remove the EN-6340 locking tool.
  31. Check position of the camshaft position actuator adjuster.
  32. 21.1. Turn crankshaft 720° in the direction of engine rotation by the crankshaft balancer bolt.

            Note: Note marking, camshaft position actuator adjuster.

    21.2. Insert EN-6340 locking tool into camshaft timing gears.

    2026534
  33. Insert the EN-6628-A locking tool (1) into the camshafts.
  34. Align camshafts by hexagon until EN-6628-A locking tool can be inserted in both camshafts.

  35. 1936993
  36. Check the crankshaft position.
  37. Marking on crankshaft balancer must align with marking on timing belt lower cover, see mark (1).
  38. Remove the EN-6628-A locking tool.
  39. Install the camshaft cover. Refer to Camshaft Cover Installation .
  40. Install the timing belt upper front cover. Refer to Timing Belt Upper Front Cover Installation : LDE, LED, LFJ, LXV, 2H0, LUW .
   


© Copyright Chevrolet. All rights reserved