To the top of the document
Cruze
   
GMDE Start Page Load static TOC Load dynamic TOC Help?

Equalizer Beam Link Replacement - Left Side

Special Tools

EN-45059 Angle Meter

For equivalent regional tools. Refer to Special Tools .

Removal Procedure

  1. Raise and support the vehicle. Refer to Lifting and Jacking the Vehicle .
  2. Remove the tyre and wheel assemblies. Refer to Tyre and Wheel Removal and Installation .

  3. 2192348
  4. Remove and DISCARD exhaust front pipe to exhaust rear silencer nuts (2, 3).
  5. Remove rear exhaust pipe (1) from flange.
  6. DISCARD flange gasket.

  7. 2192347

    Note: There may be additional attachment points, depending on the powertrain in the vehicle.

  8. Loosen rear exhaust silencer from suspension points (1, 2, 3).

  9. 2191195
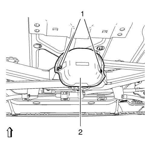
  10. Remove 3 rivets (1) from equaliser beam centre link heat shield (2).

  11. 2191438
  12. Remove the equaliser beam link bolt (1) from the rear axle (2).

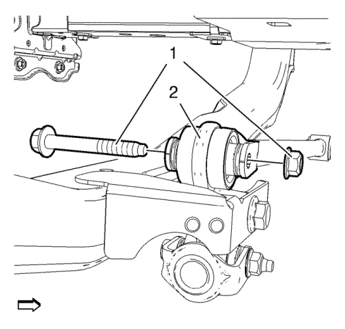
  13. 2191440
  14. Remove and DISCARD the equaliser beam link bolt and nut (1) from equaliser beam centre link (2).
  15. Remove the equaliser beam link from the vehicle.

Installation Procedure

  1. Insert equaliser beam link to the vehicle.

  2. 2372978

    Note:  Following step must proceed in order to achieve correct rear axle joints alignment.

  3. 8. Using the lift table, raise the axle to the proper trim height specification by measuring the vertical distance (a) between the centre of the wheel hub (2) and top of the wheel opening (1).
  4. Specification
    Dimension (a): 385 mm (15.16 in)

    Caution: Refer to Fastener Caution in the Preface section.

    Caution: Refer to Torque-to-Yield Fastener Caution in the Preface section.


    2191440
  5. Install the NEW equaliser beam link bolt and nut (1) to equaliser beam centre link (2) and tighten to 40 N·m (30 lb ft) + 60° , using the EN-45059 meter .

  6. 2191438
  7. Install the equaliser beam link bolt (1) to the rear axle (2) and tighten to 160 N·m (118 lb ft).
  8. Install the tyre and wheel assemblies. Refer to Tyre and Wheel Removal and Installation .

  9. 2191195
  10. Install 3 rivets (1) to equaliser beam centre link heat shield (2).

  11. 2192347

    Note: There may be additional attachment points, depending on the powertrain in the vehicle.

  12. Install rear exhaust silencer to suspension points (1, 2, 3).

  13. 2192348
  14. Install NEW flange gasket.
  15. Install rear exhaust pipe (1) to flange.
  16. Install NEW exhaust front pipe to exhaust rear silencer nuts (2, 3) and tighten to 17 N·m(13 lb ft).
  17. Lower the vehicle.
   


© Copyright Chevrolet. All rights reserved