To the top of the document
Cruze
   
GMDE Start Page Load static TOC Load dynamic TOC Help?

Piston, Connecting Rod, and Bearing Removal


    2190741

    Note: Mark the installation position of the connecting rod bearing caps. The connecting rod bearings and bearing caps must not be interchanged with other connecting rods.

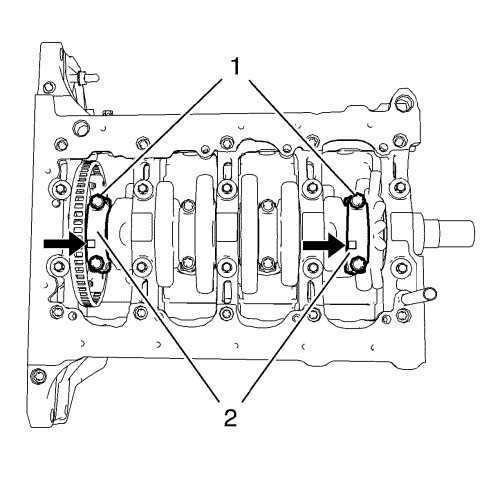
  1. Remove the 4 connecting rod bearing cap bolts (1) of cylinder 2 and 3.
  2. Remove the 2 connecting rod bearing caps (2) and the 2 connecting rod bearings of cylinder 2 and 3.
  3. Rotate the crankshaft 180°.

  4. 2190742
  5. Remove the 4 connecting rod bearing cap bolts (1) of cylinder 1 and 4.
  6. Remove the 2 connecting rod bearing caps (2) and the 2 connecting rod bearings of cylinder 1 and 4.

  7. 2190743
  8. Remove the 4 pistons (1) and connecting rods (2) and the 4 upper connecting rod bearings (3) from the cylinder block.
   


© Copyright Chevrolet. All rights reserved