To the top of the document
Cruze
   
GMDE Start Page Load static TOC Load dynamic TOC Help?

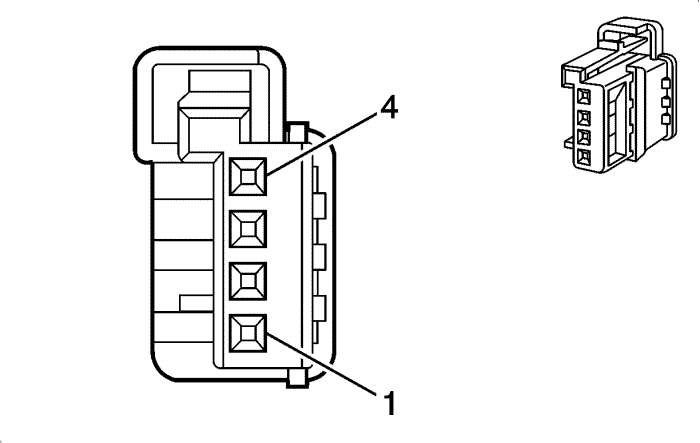
S72 Sunroof Switch (CF5)


2173576

Connector Part Information

  • Harness: Roof
  • OEM: 13216377
  • Service Connector: 13576535
  • Description: 4-Way F 0.64 Micro Quadlok Series (BK)

Terminal Part Information

  • Terminated Lead: 13575845
  • Release Tool: J-38125-215A
  • Diagnostic Test Probe: J-35616-64B (L-BU)

S72 Sunroof Switch (CF5)

Pin

Wire

Circuit

Function

1

0.5 BK/GY

128

Sunroof Switch Low Reference

2

0.5 YE

6817

LED Backlight Dimming Control

3

0.5 BK

50

Ground

4

0.5 D-BU/VT

5027

Sunroof Switch Data (1)

   


© Copyright Chevrolet. All rights reserved