To the top of the document
Cruze
   
GMDE Start Page Load static TOC Load dynamic TOC Help?

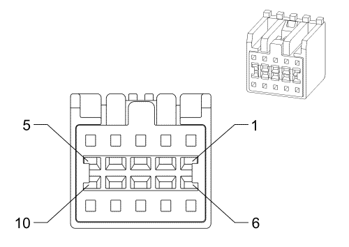
A10 Inside Rearview Mirror


2180211

Connector Part Information

  • Harness: Roof
  • OEM: 19177676
  • Service Connector: 19177676
  • Description: 10-Way F Kaizen 0.64 Series (BK)

Terminal Part Information

  • Terminated Lead: Pending
  • Release Tool: J-38125-215A
  • Diagnostic Test Probe: J-35616-64B (L-BU)

A10 Inside Rearview Mirror

Pin

Wire

Circuit

Function

1

0.35 D-GN/WH

1324

Reverse Lamp Control

2

0.5 VT/WH

39

Ignition Voltage

0.5 VT/WH

39

Ignition Voltage (DD8)

5

0.5 BK

50

Ground

   


© Copyright Chevrolet. All rights reserved