To the top of the document
Cruze
   
GMDE Start Page Load static TOC Load dynamic TOC Help?

Ignition Coil Removal

Special Tools

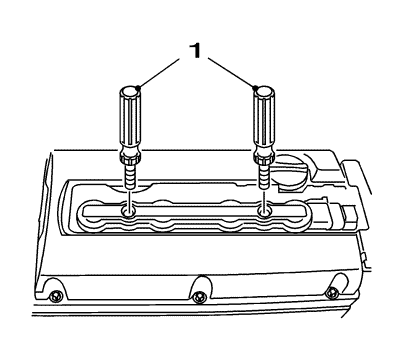
EN-6009 Remover/Installer Ignition Module

For equivalent regional tools, refer to Special Tools .

    Note: Note the arrow on the cover.

  1. Remove the cover of the DIS ignition coil in the direction of the arrow.
  2. Remove the 2 ignition coil bolts.

  3. 1936914
  4. Install the EN-6009 remover/installer (1).

  5. 2026537
  6. Remove the ignition coil module (2) with the EN-6009 remover/installer (1).
   


© Copyright Chevrolet. All rights reserved