To the top of the document
Cruze
   
GMDE Start Page Load static TOC Load dynamic TOC Help?

Q17C Fuel Injector 3 (2H0, LDE, or LXV)


1527729

Connector Part Information

  • Harness: Fuel Injectors
  • OEM: 85202-1
  • Service Connector: 19153196
  • Description: 2-Way F Junior Power Timer Series, Sealed (BK)

Terminal Part Information

  • Terminated Lead: Service by Harness - See Part Catalog
  • Release Tool: J-38125-36
  • Diagnostic Test Probe: J-35616-35 (VT)

Q17C Fuel Injector 3 (2H0, LDE, or LXV)

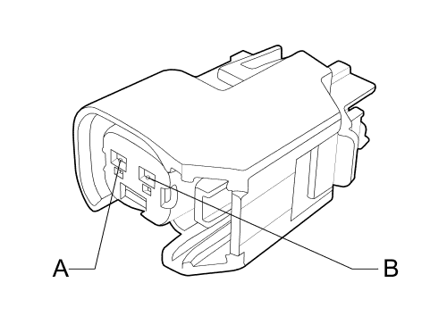
Pin

Wire

Circuit

Function

A

1 RD/D-BU

5290

Powertrain Main Relay Fused Supply (1) (Except North America)

0.5 VT/D-BU

5290

Powertrain Main Relay Fused Supply (1) (Except North America)

B

0.5 YE/VT

1746

Fuel Injector Control (3) (Except North America)

   


© Copyright Chevrolet. All rights reserved