To the top of the document
Cruze
   
GMDE Start Page Load static TOC Load dynamic TOC Help?

M74D Window Motor - Driver (AEC)


684837

Connector Part Information

  • Harness: Driver Door
  • OEM: 15134093
  • Service Connector: 88988652
  • Description: 8-Way F 2.8 Series (BK)

Terminal Part Information

  • Terminated Lead: 13575578
  • Release Tool: J-38125-553
  • Diagnostic Test Probe: J-35616-35 (VT)

M74D Window Motor - Driver (AEC)

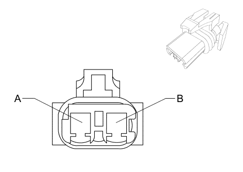
Pin

Wire

Circuit

Function

A

2.5 D-GN/GY

3382

Power Window Motor Driver Up Control

B

2.5 YE/VT

3383

Power Window Motor Driver Down Control

   


© Copyright Chevrolet. All rights reserved