To the top of the document
Cruze
   
GMDE Start Page Load static TOC Load dynamic TOC Help?

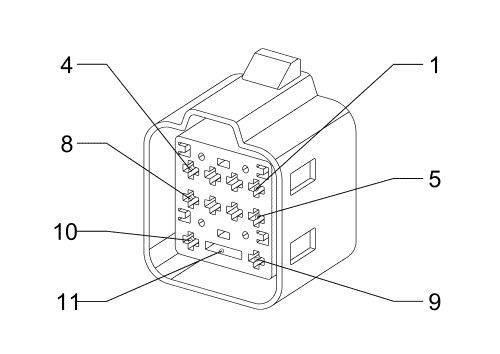
K34 Glow Plug Control Module (LLW)


2220399

Connector Part Information

  • Harness: Engine
  • OEM: 30433401
  • Service Connector: Pending
  • Description: 11-Way F 2.8/9.5 Series, Sealed (BK)

Terminal Part Information

  • Terminated Lead: Pending
  • Release Tool: J-38125-36
  • Diagnostic Test Probe:J-35616-35 (VT)

K34 Glow Plug Control Module (LLW)

Pin

Wire

Circuit

Function

1

2.5 GY/D-BU

1581

Glow Plug Control (1)

2

2.5 GY/BN

1582

Glow Plug Control (2)

3

2.5 GY/D-GN

1583

Glow Plug Control (3)

4

2.5 GY/YE

1584

Glow Plug Control (4)

6

0.5 VT/BK

5291

Powertrain Main Relay Fused Supply (2)

7

0.5 BK

50

Ground

9

0.5 BN/GY

506

Glow Plug Signal

10

0.75 BN/GY

505

Glow Plug Control

11

6 D-BU/WH

7102

Roof Door Module Roof LT/RT Tonneau Latch Extended

   


© Copyright Chevrolet. All rights reserved