To the top of the document
Cruze
   
GMDE Start Page Load static TOC Load dynamic TOC Help?

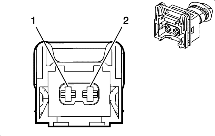
B19C Brake Booster Vacuum Switch


2220403

Connector Part Information

  • Harness: Body
  • OEM: 963344-1
  • Service: Pending
  • Description: 2-Way F (BN)

Terminal Part Information

  • Terminated Lead: 13575362
  • Release Tool: J-38125-36
  • Diagnostic Test Probe: J-35616-35 (VT)

B19C Brake Booster Vacuum Switch

Pin

Wire

Circuit

Function

1

0.5 RD/GY

40

Battery Positive Voltage

2

0.5 BN

6305

Brake Vacuum Switch Signal

   


© Copyright Chevrolet. All rights reserved