To the top of the document
Cruze
   
GMDE Start Page Load static TOC Load dynamic TOC Help?

P19H Speaker - Left Front Tweeter (UQG)


2173598

Connector Part Information

  • Harness: Roof
  • OEM: 19115645
  • Service: 13314093
  • Description: 2-Way F 0.64 Series (BK)

Terminal Part Information

  • Terminated Lead: Service by Connector Assembly
  • Release Tool: J-38125-215A
  • Diagnostic Test Probe: J-35616-64B (L-BU)

P19H Speaker - Left Front Tweeter (UQG)

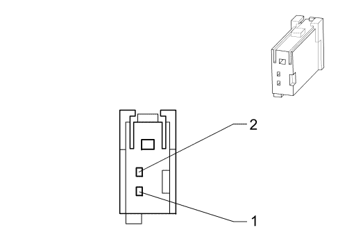
Pin

Wire

Circuit

Function

1

0.75 BN/D-BU

118

Left Front Speaker Signal (-) (1)

0.75 BN/D-BU

118

Left Front Speaker Signal (-) (1) (LHD)

0.75 BN/D-BU

118

Left Front Speaker Signal (-) (1) (LHD UW6)

0.75 BN/D-BU

118

Left Front Speaker Signal (-) (1) (RHD UW6)

2

0.75 D-BU

201

Left Front Speaker (+) (1)

0.75 D-BU

201

Left Front Speaker (+) (1) (LHD)

0.75 D-BU

201

Left Front Speaker (+) (1) (LHD UW6)

0.75 D-BU

201

Left Front Speaker (+) (1) (RHD UW6)

   


© Copyright Chevrolet. All rights reserved