To the top of the document
Cruze
   
GMDE Start Page Load static TOC Load dynamic TOC Help?

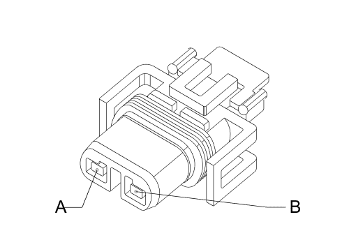
E29RF Fog Lamp - Right Front (T96)


1413064

Connector Part Information

  • Harness: Forward Lamp
  • OEM: 12124819
  • Service: 12085498
  • Description: 2-Way F Metri-Pack 280 Series, Sealed (BK)

Terminal Part Information

  • Terminated Lead: Pending
  • Release Tool: 12094430
  • Diagnostic Test Probe: J-35616-4A (PU)

E29RF Fog Lamp - Right Front (T96)

Pin

Wire

Circuit

Function

A

0.75 BK

50

Ground

B

0.75 BN/D-GN

34

Front Fog Lamp Control

   


© Copyright Chevrolet. All rights reserved