To the top of the document
Cruze
   
GMDE Start Page Load static TOC Load dynamic TOC Help?

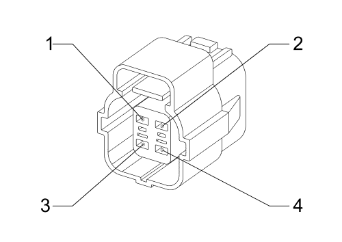
B52A Heated Oxygen Sensor 1 (LXT)


1466979

Connector Part Information

  • Harness: Engine
  • OEM: 0-174257-2
  • Service: Pending
  • Description: 4-Way F (BK)

Terminal Part Information

  • Terminated Lead: 13575350
  • Release Tool: J-38125-36
  • Diagnostic Test Probe: J-35616-5 (PU)

B52A Heated Oxygen Sensor 1 (LXT)

Pin

Wire

Circuit

Function

1

0.5 VT/GY

3110

Heated Oxygen Sensor High Signal Bank 1 Sensor (1)

2

0.5 GY/WH

3113

Heated Oxygen Sensor Heater Low Control Bank 1 Sensor (1)

3

0.5 WH/BK

3111

Heated Oxygen Sensor Low Signal Bank 1 Sensor (1)

4

0.5 VT/D-BU

5292

Powertrain Main Relay Fused Supply (3)

   


© Copyright Chevrolet. All rights reserved