To the top of the document
Cruze
   
GMDE Start Page Load static TOC Load dynamic TOC Help?

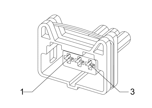
B26 Crankshaft Position Sensor (LLW)


2173555

Connector Part Information

  • Harness: Engine
  • OEM: 85205-1
  • Service: Pending
  • Description: 3-Way F 2.8 Junior Power Timer Series, Sealed (BK)

Terminal Part Information

  • Terminated Lead: Pending
  • Release Tool: J-38125-553
  • Diagnostic Test Probe: J-35616-16 (L-GN)

B26 Crankshaft Position Sensor (LLW)

Pin

Wire

Circuit

Function

1

0.5 WH/BK

1799

Crankshaft Position Sensor High Resolution Signal

2

0.5 BK

50

Ground

0.5 D-GN

573

Crankshaft Sensor Signal (1)

3

0.5 BK/VT

574

Crankshaft Sensor Low Reference (1)

   


© Copyright Chevrolet. All rights reserved